EasyManua.ls Logo

Monster HT SL100-CTR - Montage du Socle des Enceintes

Monster HT SL100-CTR
25 pages
Print Icon
To Next Page IconTo Next Page
To Next Page IconTo Next Page
To Previous Page IconTo Previous Page
To Previous Page IconTo Previous Page
Loading...
15
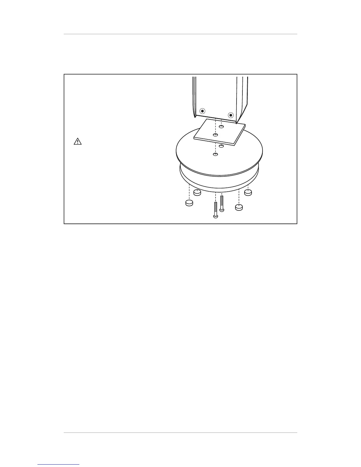
INSTRUCTIONS
1. Vérifiez que toutes les pièces nécessaires sont en votre possession.
2. Disposez les éléments du socle dans l’ordre comme illustré ci-dessus et alignez les orifices des vis.
3. Insérez les vis dans les orifices et serrez-les à la main.
4. Utilisez un tournevis pour bien ajuster les vis jusqu’à ce qu’elles soient alignées sur le socle.
Ne serrez pas exagérément et n’exercez pas de force excessive !
MONTAGE DU SOCLE DES ENCEINTES
ATTENTION :
Veillez à ce que
le socle soit entièrement monté avant
de dresser le bâti des enceintes en
position verticale, sinon des dommages
pourraient survenir.
MONTAGE DU SOCLE DES ENCEINTES
CONTENU
1 Bois rectangulaire avec orifices de vis
1 Socle rond en métal
1 Socle rond en bois
2 Vis (situées sur le bâti des enceintes)

Related product manuals