EasyManua.ls Logo

Monster HT SL100-CTR - Assembly of Speaker Base

Monster HT SL100-CTR
25 pages
Print Icon
To Next Page IconTo Next Page
To Next Page IconTo Next Page
To Previous Page IconTo Previous Page
To Previous Page IconTo Previous Page
Loading...
3
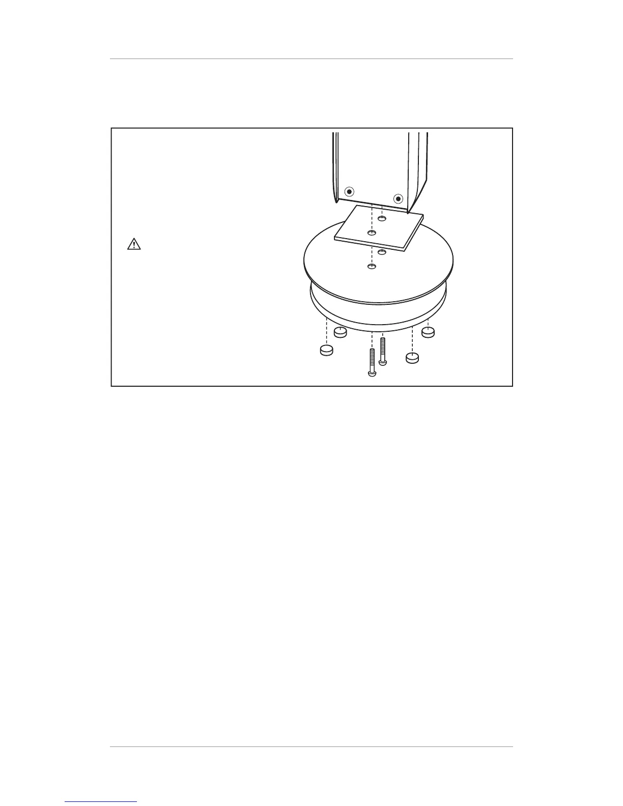
INSTRUCTIONS
1. Check to ensure that you have all necessary parts.
2. Arrange base components in order as illustrated above and line up the screw holes.
3. Insert screws into holes and hand tighten.
4. Use a screwdriver to snug down screws until they are flush with the base.
Do not over-tighten or apply excessive force!
ASSEMBLY OF SPEAKER BASE
ATTENTION:
Be sure the base
is completely assembled before you
raise the speaker cabinet to the vertical
position or damage may occur.
ASSEMBLY OF SPEAKER BASE
CONTENTS
1 Rectangular Wood with Screw Holes
1 Metal Round Base
1 Wood Round Base
2 Screws (found on speaker cabinet)

Related product manuals