EasyManua.ls Logo

Moosoo MG75 - OPERATION AND TEMPERATURE SETTING; Temperature Control and Display; Shelf Usage and Door Reversal

Moosoo MG75
12 pages
Print Icon
To Next Page IconTo Next Page
To Next Page IconTo Next Page
To Previous Page IconTo Previous Page
To Previous Page IconTo Previous Page
Loading...
5
OPERATION AND TEMPERATURE SETTING
This wine cooler is suitable for the ambient temperature 5-32. If temperature is higher or lower than it, the
performance may be affected.
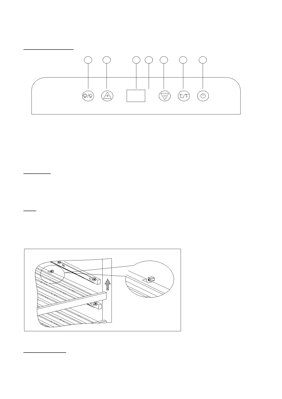
Temperature setting
MG75
LED ON/OFF
Temperature up (Press it, temperature will go up 1 degree)
Display window
Fahrenheit and Celsius indicate light
Temperature down (Press it, temperature will decrease 1 degree)
Fahrenheit & Celsius switch button
Power ON/OFF: Press“POWER”button for 3 seconds to turn off the appliance. Press it to turn on it
WARNING:
If the appliance is power off suddenly. Please turn on the appliance after 3-5 minutes later. The
temperature setting is with automatic memory function.
If it is the first time to use this appliance, it is normal that the preset temperature and display temperature is
different. Everything will back to normal after few hours working.
Shelf
To avoid the damage of door sealing, please open the door fully when you slide out the shelves.
For your convenience of taking wine, you can pull out the shelf by 1/3. Our product is designed with shelf
holder to prevent the shelf pull over and fall off the cabinet.
If need to take off the shelf from cabinet, you can pull out the shelf to the shelf holder position, then lift up the
shelf to remove the shelf. (See figure below)
Reverse the door
The door is reversible. The default way to open the door is left opening. If need to reverse the door, do as the
following figures shows
C
F
°
°
1 2 3 4 5 6 7

Related product manuals