EasyManua.ls Logo

MOUNT PRO PR1009 - STEP 5: Tilt Adjustment

MOUNT PRO PR1009
12 pages
Print Icon
To Next Page IconTo Next Page
To Next Page IconTo Next Page
To Previous Page IconTo Previous Page
To Previous Page IconTo Previous Page
Loading...
06
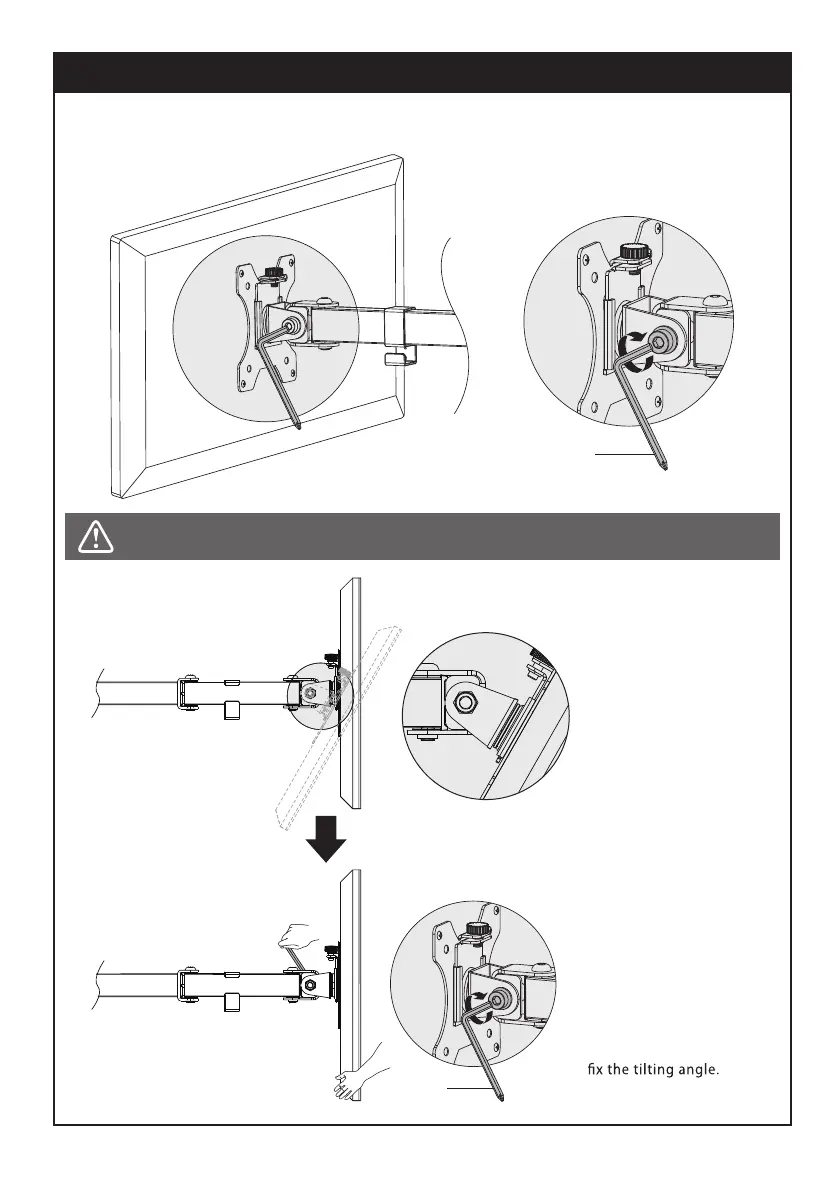
STEP 5: Tilt Adjustment
Tighten the bolt with the supplied 6mm Allen key (K) to x the tilt angle.
K
K
Refer to below illustrations to adjust tilting angle of your monitor.
Note:
1. Loosen the tilting bolt.
2. Adjust monitor to your
desired tilting angle.
3. Retighten the tilting bolt to
Tilts down