EasyManua.ls Logo

Mountfield Emperor 40 - Starting and Operating; Before You Start Checks; Identification of Controls; Starting the Engine

Mountfield Emperor 40
12 pages
Print Icon
To Next Page IconTo Next Page
To Next Page IconTo Next Page
To Previous Page IconTo Previous Page
To Previous Page IconTo Previous Page
Loading...
6
Before you start
Important!
The engine is shipped WITHOUT FUEL or OIL. After
assembly, fill the engine with petrol and oil as
instructed in the separate engine manual packed with
your machine. Running your mower with insufficient oil
will damage the engine and invalidate your warranty.
Be sure that…
The operator reads and understands this manual,
The daily maintenance checks have been properly carried
out and the mower is in good working order.
The operator wears safe clothing and eye protection.
Failure to do so could result in damage and risk to health
and safety
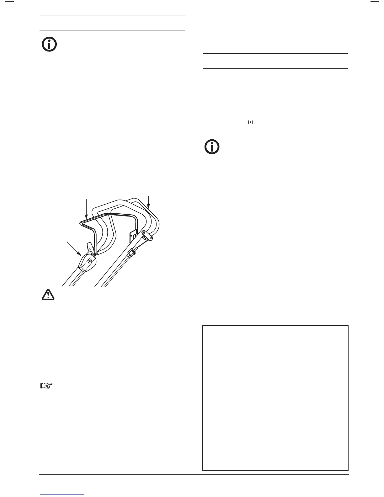
IDENTIFICATION OF CONTROLS
OPC (OPERATOR PRESENCE CONTROL) LEVER
This control is located on the top of the handle bar. It is used
to stop the engine quickly when the operator releases the OPC
lever. To start the engine, you must pull the lever back and hold
it against the handle bar. This allows the engine to be started.
When you release the OPC lever the engine will automatically
shut off.
Warning!
If the OPC mechanism is not adjusted correctly or is damaged
the engine will continue to run after the OPC lever is released.
In this situation, do not use the mower. Contact your local ser-
vicing specialist.
THROTTLE CONTROL LEVER
The throttle control lever is located to the right of the upper
handle. It controls the engine speed which governs how fast
the machine is propelled forward. As engine speed rises a
centrifugal clutch automatically engages to drive the cutting
cylinder. At idle the cutting cylinder automatically stops.
Note!
The engine speed dictates the speed the mower is
propelled as well as the speed of the cutting cylinder.
ROLLER CLUTCH LEVER
The roller clutch lever is behind the upper handle cross bar
and is spring loaded to the disengaged position. When
engaged the mower moves forward. Move the lever towards
the handlebar to engage the drive to the rear roller. Release
the lever to stop the mower.
RECOIL PULL START HANDLE
Refer to the engine owner’s handbook for details.
CLEAR THE AREA TO BE MOWN
Before commencing mowing, ensure the lawn is free from
obstructions, such as stones, etc. Contact with objects of this
type may damage the cutting cylinder and bottom blade.
Using your cylinder mower
STARTING THE ENGINE
Ensure the roller clutch lever is in the disengaged position
before starting the engine. Turn the ignition switch (if fitted) to
the ‘ON’ position.
Starting Procedure
If the engine has not been running recently move the choke
control to the ‘ON’/ position. The choke is on the side of
the engine by the carburettor, refer engine owner’s manual.
Important!
OPC Lever. To start the engine you must
pull the lever back and hold it against the
handle bar, then follow the starting procedures
below. This releases the engine break and allows
the engine to be started. If you release the OPC lever
the engine will automatically shut off again.
Stand to the right of the mower, grasp the starter cord handle
grip, pull slowly until a resistance is felt and then pull forcefully
to prevent kick-back. Repeat until the engine starts. Do not pull
the cord with a jerk or release it until fully rewound.—When the
engine starts and has warmed up for a short time, move the
choke to the ‘OFF’ position and throttle control to the desired
speed. Should the engine not start due to ‘flooding’, move the
Choke control to ‘OFF’ and pull the starter six times to clear
the flooding.
After allowing the engine a few moments to warm up, mowing
may commence by setting the throttle lever so the engine is
running sufficiently fast to engage the automatic clutch. Then
engage the roller clutch by moving the Roller clutch lever for-
ward to the handlebar. Adjust the throttle to achieve a com-
fortable walking pace and guide the machine in the desired
direction.
To stop the machine, release the Roller clutch lever. Then
reduce the engine speed.
HINTS FOR EASY STARTING.
1.Start a warm engine with the throttle control lever in the
SLOW position.
2.Keep the mower clean and the cylinder clear of debris.
HARD STARTING CHECK LIST
Look for these faults:-
FUEL.
1. Insufficient fuel in tank.
2. Stale fuel.
3. Water or dirt in fuel.
4. Blocked air vent in fuel tank cap.
IGNITION.
1. Loose spark plug wire.
2. Dirty spark plug electrodes.
3. Incorrect spark plug gap.
4. Incorrect spark plug type.
OTHER.
1. Choked air filter (Dirt or oil).
2. Engine throttle control cable incorrectly adjusted.
3. Lower cutting blade incorrectly adjusted.
4. Faulty OPC system.
7
MOWING FLAT OPEN AREAS
When mowing flat open areas it is best to first cut a margin
approximately three mower widths at each end where you
wish to turn the mower and then mow at right angles to the
margins with parallel cuts until the area is completed. This
leaves your lawn with a very pleasing appearance. When
turning at the end of each cut, disengage the clutch and press
down on the handles, turning the mower on its rear roller.
Once the throttle has been set to suit your pace, there is no
need for further adjustment unless you should encounter very
heavy grass growth. The mower can be controlled entirely by
means of the Roller clutch lever.
When making tight turns, release the Roller clutch lever to its
open position and re-engage the clutch when you want to
resume cutting.
When mowing around verges, the cutting cylinder and rear
roller should slightly overhang the edge.
MOWING SLOPING AREAS
Important!
Mowing on slopes requires extra care.
Generally speaking, your mower will mow lawns on which you
can reasonably walk. When mowing a sloping area, mow
across the slope wherever possible, with your machine point-
ing slightly uphill. This way you will find it will do a satisfactory
job without sliding. If you find it necessary to mow up and
down the slope and the rear roller shows a tendency to slip on
the upward run, then press down on the handle to increase
traction.
PAUSING BETWEEN MOWING
When emptying the grass collector close the throttle to allow
the engine to idle. Idling the engine automatically uncouples
the drive to the cutting cylinder, reducing wear. Release the
OPC lever and the engine will stop automatically.
Adjustments for best performance
CUTTING HEIGHT ADJUSTMENT
The height of cut ‘C’ can be altered to suit grass and/or
ground conditions by simple rotation of the handwheel situat-
ed immediately forward of the chain cover, see photo page 4.
For a shorter cut turn the hand wheel anti-clockwise.
For a longer cut turn the handwheel clockwise.
Never set the cutting height so low that the baseplate touches
the ground. For a healthy attractive lawn we do not recom-
mend cutting at heights below 12mm. Very long grass is best
tackled with the rollers set to give the highest possible cut.
If it becomes apparent that one side of the machine is cutting
at a lower height than the other, this can be simply adjusted
after slackening the bolt located on the inside of the front right
hand roller bracket (as viewed from the operating position)
and tapping that end of the roller up or down as required.
Retighten bolt when the correct position has been achieved.
GRASS DEFLECTOR ADJUSTMENTS
When cutting grass at various lengths, it may be found that
the cuttings tend to be thrown either too high or low in the
collector. in which case uneven loading will result. To eliminate
this the deflector should be adjusted. This can be done quite
simply by slackening off the two bolts ‘A on the front edge of
the main frame and moving the deflector in or out until the
desired effect is obtained, then re-tighten the bolts. If set too
far back, grass will be thrown too low in the collector, or if too
close to the cutting cylinder, grass will be thrown over the top of
the collector.
CUTTING CYLINDER ADJUSTMENTS
To obtain clean cutting, it is necessary to maintain the setting
of the cutting cylinder relative to the baseplate. When shipped, the
setting is correct, but after a period of use, adjustment will be
required.
It will normally be necessary to move the cutting cylinder closer
to the baseplate to accommodate wear. To do this the adjusting
screws ‘B’ on both sides of the machine should be turned
clockwise making small alterations to each screw alternately
until the cutting cylinder just makes contact with the baseplate
‘C’ Cut height
‘A Deflector
adjustment bolt.
OPC Lever
Throttle
Control
Lever
Roller Clutch Lever

Related product manuals