EasyManua.ls Logo

MTM 52 - Device Installation; Minimal Safety Space Around the Device; Combustion Chamber Structure

MTM 52
11 pages
Print Icon
To Next Page IconTo Next Page
To Next Page IconTo Next Page
To Previous Page IconTo Previous Page
To Previous Page IconTo Previous Page
Loading...
6. Device installation
read the local Healty and Safety and fire protection regulations,
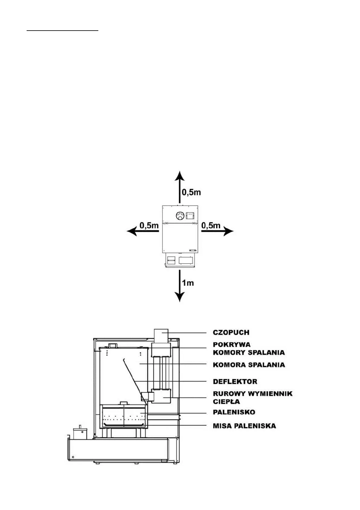
place the stove on a flat, concrete floor, in the spot allowing free space around
the device, according to Fig. 2.,
level the device - in order to check whether the heater is well levelled, place the furnace bowl
in the lower part of the combustion chamber and pour a small amount of diesel oil into it - the oil
should spill out exactly in the middle of the bowl,
install the draught regulator on the pipe exiting the combustion chamber to ensure stable draught
inside the chamber during heater operation,
to provide optimal draught, install an at least 5-metre-long smooth, vertical stack pipe
resistant to high temperature (not aluminium),
check the leaktightness of all stack connections, tighten them with insulating tape
if necessary,
make sure that the combustion bowl is located in the combustion chamber centrally,
place the deflector inside the combustion chamber according to Fig. 3.,
check the network voltage (230V/50Hz) and connect the stove to the power supply. Neither the fan
nor the pump should start because the stove is not switched on yet and no heat has been
produced.
Fig. 2. Minimal safety space around the device.
Fig. 3. Combustion chamber structure
[Flue], [Chamber cover], [Chamber], [Deflector],
[