EasyManua.ls Logo

MUNBYN IPDA030 - Page 5

MUNBYN IPDA030
17 pages
Print Icon
To Next Page IconTo Next Page
To Next Page IconTo Next Page
To Previous Page IconTo Previous Page
To Previous Page IconTo Previous Page
Loading...
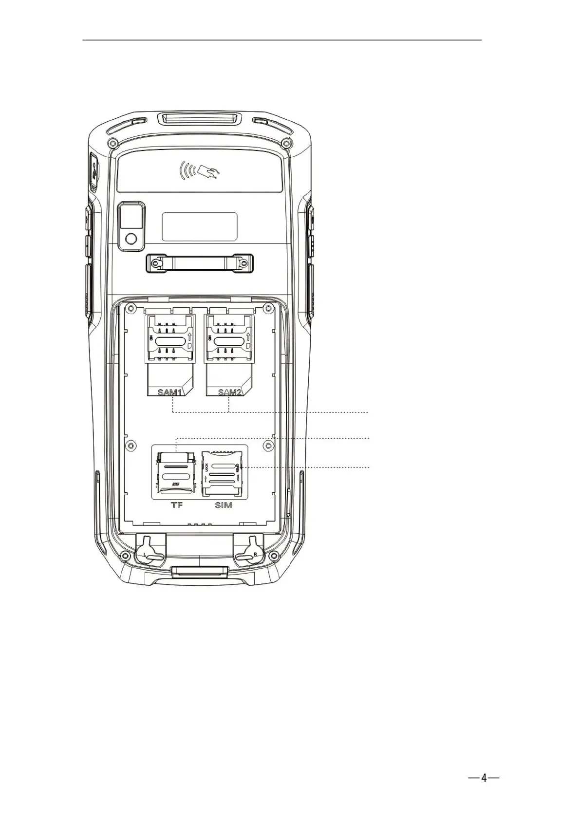
(Warm tips: The handheld terminal only supports Micro SIM card,
standard SIM card slot is for PSAM card)
Install TF/SIM card
PSAM slot × 2
TF slot
Micro SIM slot
1.Please insert the SIM card into the corresponding slots as shown below

Related product manuals