EasyManua.ls Logo

MyDeejay MDJ-800 BT - How to Use; Media Player Controls; Connectivity and Inputs; Audio Outputs and Controls

MyDeejay MDJ-800 BT
8 pages
Print Icon
To Next Page IconTo Next Page
To Next Page IconTo Next Page
To Previous Page IconTo Previous Page
To Previous Page IconTo Previous Page
Loading...
HOW TO USE ?
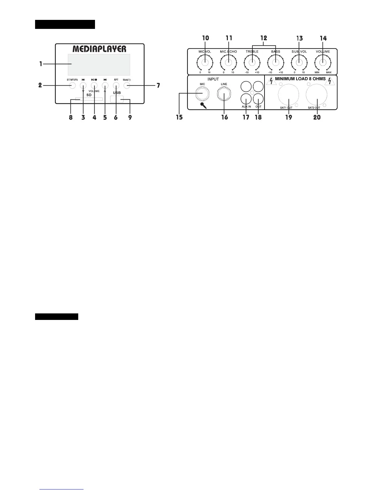
1. Display
The LCD display show you some information as
playback support, file name, elapsed time, total time,
file number, total file number, etc.
2. Button for BT, MP3, FM
Press to select BT, MP3 or FM mode.
3. Previous track
Play previous track. Press long for decrease the
volume level of mediaplayer.
4. Play/Pause/Stop button
Press to start, pause or stop playing track.
5. Next track
Press for next track. Press long for increase the
volume level of mediaplayer.
6. Repeat button
Press to choose the repeat mode in between One or
All.
7. Mute or Turn off the media player
Press short to enable and disable between mute
function. Press long for turn on/off the mediaplayer.
8. SD-Slot
For connection of a SD-card with MP3 files.
9. USB Slot
For connection of a USB stick with MP3 files.
10. Microphone volume
Before connect the microphone turn the volume to
zero. Then you can adjust the microphone volume to
the appropriate level.
11. Microphone Echo
Adjust the echo effect.
12. Treble / Bass
Adjust the treble and bass tone control.
13. Subwoofer volume
Adjust the volume control of the subwoofer only.
14. Master volume control
Adjust the volume control of the subwoofer and both
satellites.
15. Microphone input
Connect the microphone with a 1/4” Jack connector.
16. Line input
Line input for 1/4” Jack-connector for the audio input
source e.g. mixer, CD player, etc.
17. Aux-input
Aux input RCA-connector for the audio input source
e.g. mixer, CD player, etc.
18. Aux-output
Aux output RCA-connector for the audio output
source e.g. amplifier, record device etc.
19. Speaker output for satellite 1
Plug in the speaker connector from the right
satellite.
20. Speaker output for satellite 2
Plug in the speaker connector from the left satellite.
BT FUNCTION
Press on button “BT/MP3/FM” (2) till you see “Bluetooth”. Then use your mobile or computer to search a Bluetooth
device. When you find the “MDJ-800BT”, then connect. There’s no code needed.
After connecting successfully, you can press the play/pause, Volume +/Volume -, PRE & NEXT buttons or the keys on
the remote control to control the playing.