EasyManua.ls Logo

MyDeejay MDJ-800 BT - Hoe te Gebruiken

MyDeejay MDJ-800 BT
8 pages
Print Icon
To Next Page IconTo Next Page
To Next Page IconTo Next Page
To Previous Page IconTo Previous Page
To Previous Page IconTo Previous Page
Loading...
HOE TE GEBRUIKEN
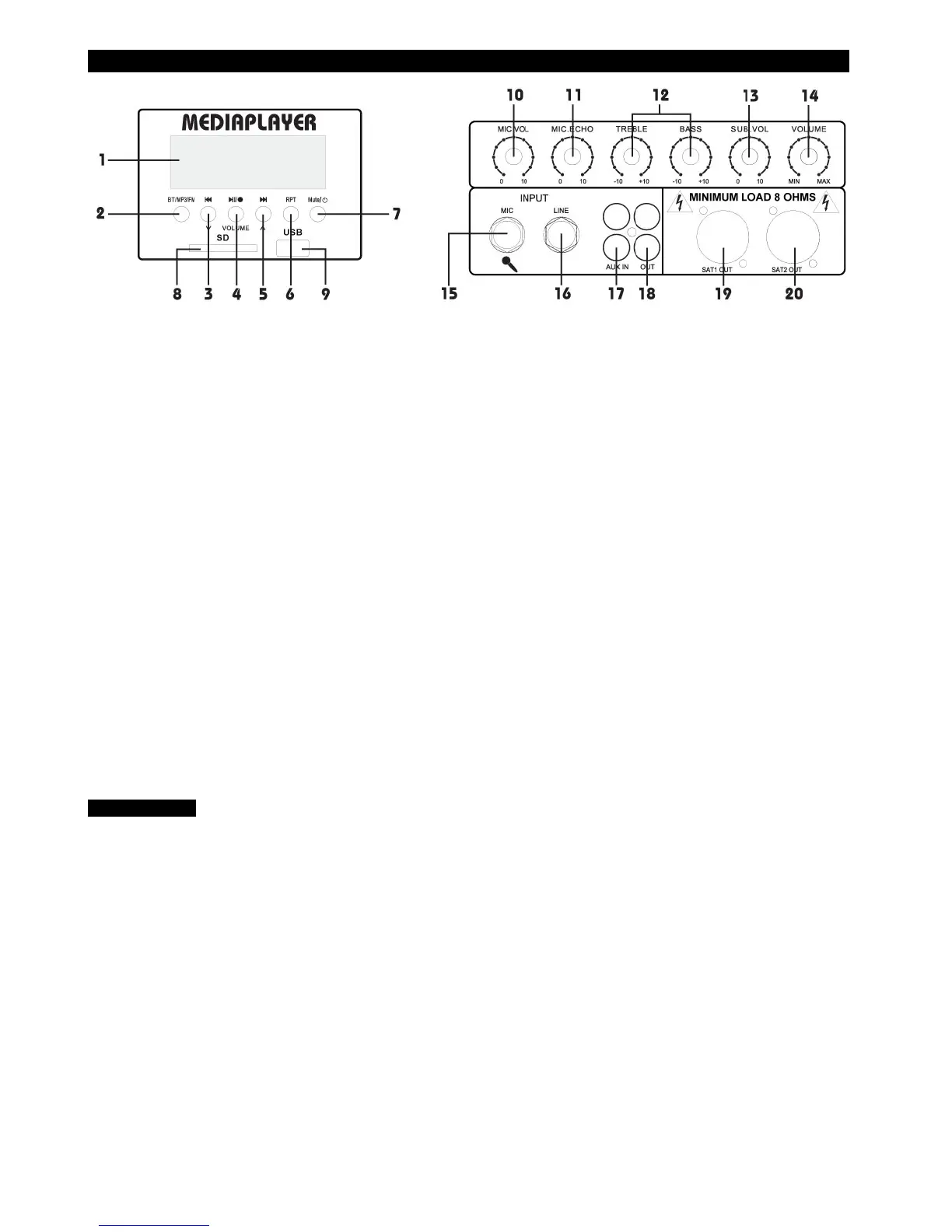
1. Display
Het LCD-scherm laat informatie zien zoals:
bestandsnaam, verstreken tijd, totale tijd, aantal
bestanden, totale aantal bestanden, etc.
2. Button for BT, MP3, FM
Druk op BT, MP3 of FM-modus te selecteren.
3. Vorige track
Speel vorige nummer. Druk lang voor verlagen van
het volumeniveau van mediaplayer.
4. Play/Pauze/Stop button
Druk om te starten, pauzeren of stoppen met spelen
nummer.
5. Volgende track
Druk voor het volgende nummer. Druk lang voor
verhoging van het volume van mediaplayer.
6. Herhaal knop
Druk op repeat om de herhaalmodus in te stellen
voor één of alle nummers.
7. Dempen of Schakel de media player uit
Druk kort om in te schakelen en uit te schakelen
tussen de mute-functie. Druk lang voor aan / uit de
mediaplayer.
8. SD-Slot
Voor het aansluiten van een SD-kaart met MP3-
bestanden.
9. USB Slot
Voor het aansluiten van een USB-stick met MP3-
bestanden.
10. Microfoon volume
Voordat de microfoon wordt aangesloten, volume op
nul zetten. Dan kunt u de microfoon volume op het
juiste niveau aanpassen.
11. Microfoon Echo
Inregelen van het echo-effect.
12. Treble / Bass
Inregelen van de hoge en lage tonen.
13. Subwoofer volume
Stel het volume in van alleen de subwoofer.
14. Master volumeregeling
Stel het volume in van de subwoofer en de beide
speakers.
15. Microfooningang
Verbind de microfoon met een 1/4 "Jack connector.
16. Line-ingang
Line-ingang voor 6.35mm Jack-connector voor de
audio-ingang bron bv mixer, cd-speler, enz.
17. Aux-input
Aux-ingang RCA-connector voor de audio-ingang
bron bv mixer, cd-speler, enz.
18. Aux-uitgang
Aux-uitgang RCA-connector voor de audio-uitgang
bron bv versterker, opname-apparaat etc.
19. Speaker uitgang voor satelliet-1
Sluit de luidspreker aan van de speaker rechts.
20. Speaker uitgang voor satelliet-2
Sluit de luidspreker aan van de speaker links.
BT FUNCTIE
Druk op de knop "BT / MP3 / FM" (2) tot u "Bluetooth" ziet. Maak dan gebruik van uw gsm of computer om de
Bluetooth-apparaat te zoeken. Sluit vervolgens het apparaat aan wanneer u de "MDJ-800BT" ziet. Er is geen code
nodig.
Na het succesvol verbinden, kunt u op de play / pause, Volume + / Volume -, VORIGE en VOLGENDE knoppen of de
toetsen op de afstandsbediening drukken om het afspelen te regelen.