EasyManua.ls Logo

MyDeejay MDJ-800 BT - Page 5

MyDeejay MDJ-800 BT
8 pages
Print Icon
To Next Page IconTo Next Page
To Next Page IconTo Next Page
To Previous Page IconTo Previous Page
To Previous Page IconTo Previous Page
Loading...
Comment l’utiliser ?
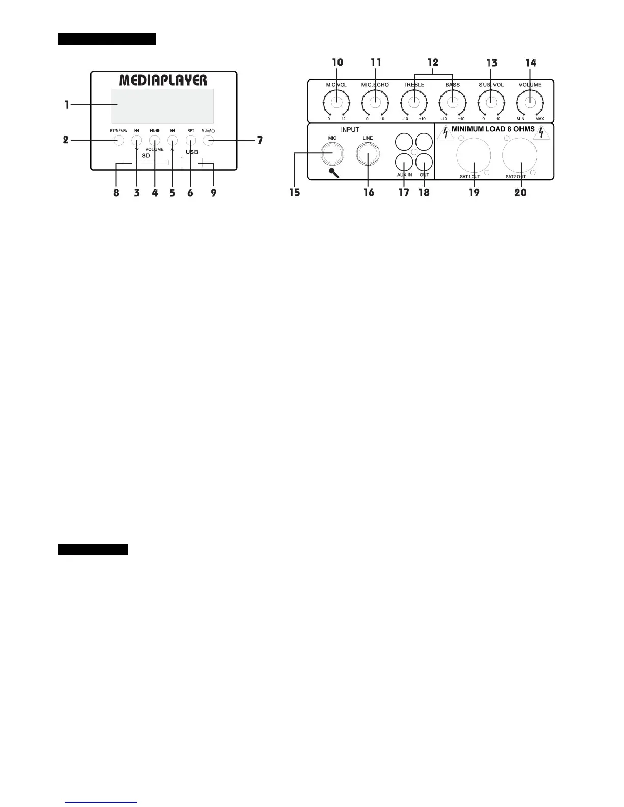
1. Lécran LCD
L'écran LCD affiche les informations tel que le
support de lecture utilisé, le nom de fichier, le temps
écoulé, le temps total, le nombre de fichiers, nombre
total de fichiers, etc.
2. Bouton pour ‘’BT’’, MP3
Appuyez pour sélectionner le mode BT ou MP3.
3. Piste Précédente
Lire la piste précédente. Appuyez longtemps pour
diminuer le volume du mediaplayer.
4. Bouton Play/Pause/Stop button
Appuyez pour démarrer, mettre en pause ou arrêter
la lecture d’une piste.
5. Piste Suivante
Passez à la piste suivante. Appuyez longtemps pour
augmenter le volume du mediaplayer.
6. Bouton Repeter
Appuyez pour choisir le mode de répétition entre
une ou toutes les pistes.
7. Mode Silence ou On/Off
Appuyez une courte fois pour activer ou désactiver
le mode silence. Appuyez longtemps pour allumer /
éteindre le mediaplayer.
8. Entrée Carte SD
Pour la connexion d'un carte SD avec des fichiers
MP3.
9. Entrée USB
Pour la connexion d'une clé USB contenant des
fichiers MP3.
10. Volume du Microphone
Avant de connecter le microphone tournez le volume
à zéro. Ensuite, vous pouvez régler le volume du
microphone au niveau approprié.
11. Reglage Echo pour le microphone
Ajustez le reglage de l’echo pour le microphone.
12. Reglage Bass et Aigue
Ajustez le reglage des Basses et des Aigues.
13. Volume du Caisson de Basses
Réglez le volume pour le subwoofer seulement.
14. Volume General
Reglage du volume general, à la fois des satellites
et du caisson de basses.
15. Entrée Microphone
Entrée Jack 6,35mm pour brancher un microphone.
16. Entrée Line
Entrée Line Jack 6,35 pour brancher une source
exterieure, lecteur CD, Instruments de musique,
etc….
17. Entrée Auxiliaire
Entrée Aux RCA pour brancher une source
exterieure, lecteur CD, Ordinateur, etc….
18. Sortie Auxiliaire
Sortie ‘’Aux’’ RCA pour brancher une source
d’enregistrement ou d’amplification.
19. Sortie haut-parleur pour le satellite droit
Branchez l’enceinte satellite droite (SAT2)
20. Sortie haut-parleur pour le satellite gauche
Branchez l’enceinte satellite gauche. (SAT1)
Fonction ‘’BT’’
Appuyez sur le bouton "BT / MP3 " (2) jusqu'à ce que vous voyez "Bluetooth". Ensuite, utilisez votre téléphone portable
ou un ordinateur afin de rechercher le périphérique Bluetooth. Lorsque vous trouvez le «MDJ-800BT" connectez-vous.
Il n'y a pas besoin de code, la connection s’effectuera immédiatement.
Après avoir connecté avec succès, vous pouvez appuyer sur la touche Lecture/Pause (4), Volume +/Volume -,
Pre/Suiv du Mediaplayer ou utiliser les touches de la télécommande pour contrôler les memes fonctions.