EasyManua.ls Logo

National Instruments NI 6259 M - Figure A-39. USB-6251 Mass Termination Pinout

National Instruments NI 6259 M
411 pages
Print Icon
To Next Page IconTo Next Page
To Next Page IconTo Next Page
To Previous Page IconTo Previous Page
To Previous Page IconTo Previous Page
Loading...
Appendix A Device-Specific Information
M Series User Manual A-82 ni.com
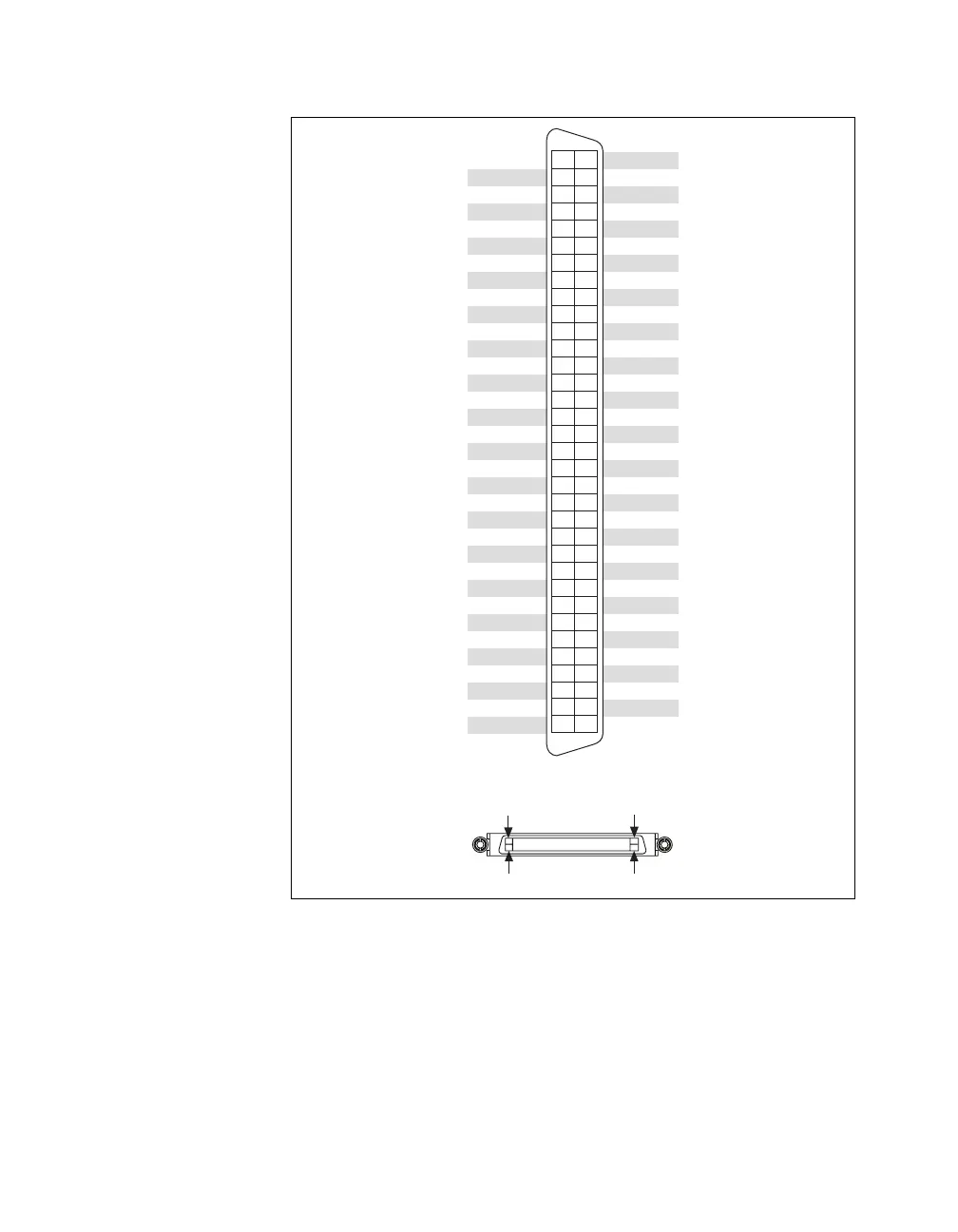
Figure A-39. USB-6251 Mass Termination Pinout
PFI 14/P2.6
PFI 12/P2.4
PFI 9/P2.1
D GND
PFI 6/P1.6
PFI 5/P1.5
D GND
+5 V
D GND
PFI 1/P1.1
PFI 0/P1.0
D GND
D GND
+5 V
D GND
P0.6
P0.1
D GND
P0.4
APFI 0
AO 1
AO 0
AI 15
AI GND
AI 6
AI 13
AI GND
AI 4
AI GND
AI 3
AI 10
AI GND
AI 1
AI 8
D GND
PFI 8/P2.0
PFI 7/P1.7
PFI 13/P2.5
PFI 4/P1.4
PFI 3/P1.3
PFI 2/P1.2
D GND
PFI 15/P2.7
D GND
PFI 10/P2.2
PFI 11/P2.3
P0.3
P0.7
P0.2
D GND
P0.5
P0.0
D GND
AO GND
AO GND
AI GND
AI 7
AI 14
AI GND
AI 5
AI 12
AI SENSE
AI 11
AI GND
AI 2
AI 9
AI GND
AI 0
1
2
3
4
5
6
7
8
9
10
11
12
13
14
15
16
17
18
19
20
21
22
23
24
25
26
27
28
29
30
31
32
33
34
35
36
37
38
39
40
41
42
43
44
45
46
47
48
49
50
51
52
53
54
55
56
57
58
59
60
61
62
63
64
65
66
67
68
CONNECTOR 0
(AI 0–15)
TERMINAL 34
TERMINAL 68
TERMINAL 1
TERMINAL 35

Table of Contents

Related product manuals