EasyManua.ls Logo

NEC NP3150 - Lens Shift Adjustable Range

NEC NP3150
169 pages
Print Icon
To Next Page IconTo Next Page
To Next Page IconTo Next Page
To Previous Page IconTo Previous Page
To Previous Page IconTo Previous Page
Loading...
129
8. Using Optional Lenses
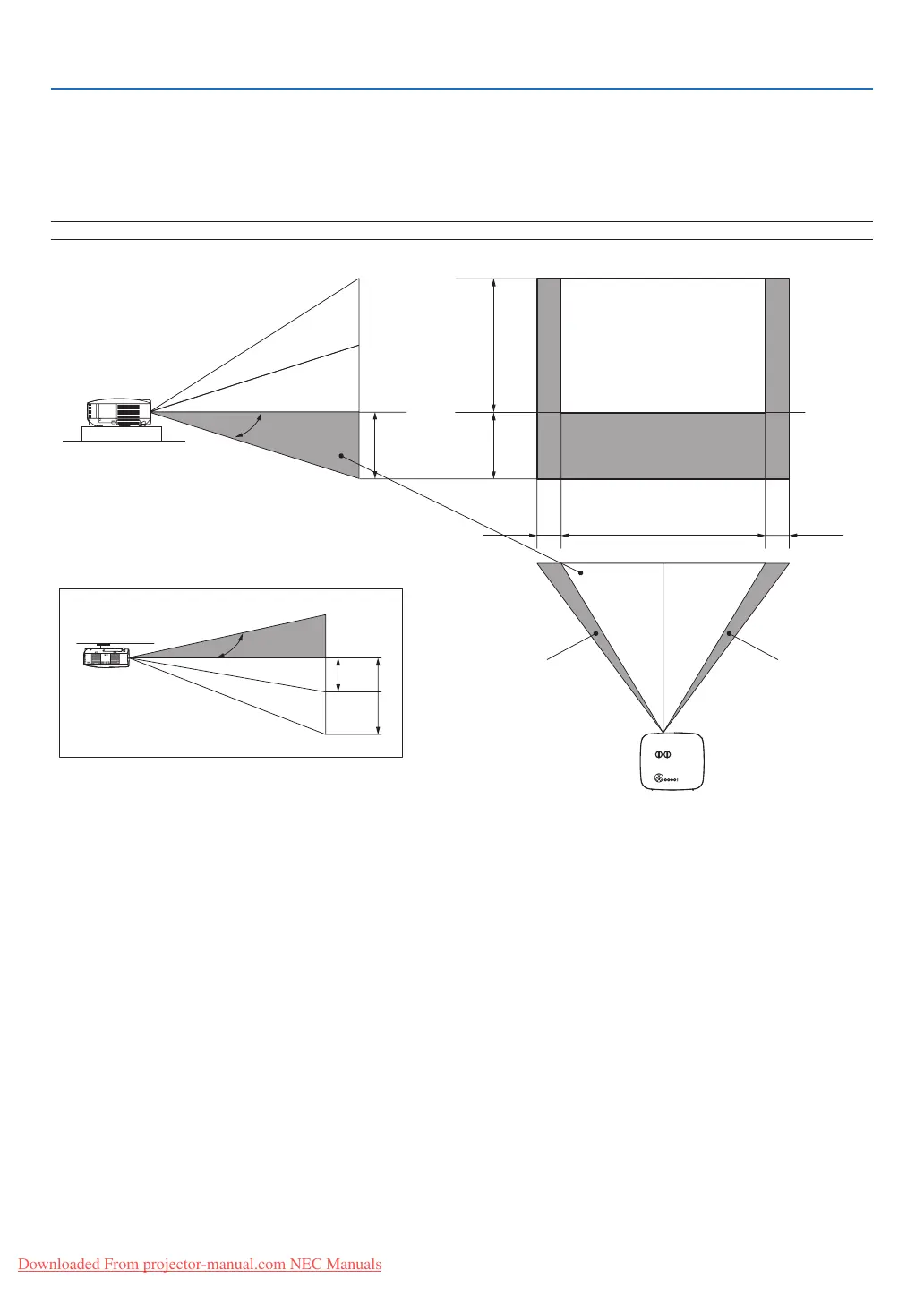
Lens Shift Adjustable Range
The top right diagram shows the location of the image position in the lens. The lens can be shifted within the shad-
ed area as shown using the normal projection position as a starting point.
The projector has a lens shift feature that allows you to move the image vertically or horizontally.
NOTE: Lens shift is not available with the NP01FL optional lens. The NP01FL should be used only for "zero degree" applications.
Desktop front projection
Ceiling front projection
Vertical shift
Vertical shift
Max. 0.5V
Max.
0.5V
1V
0.5V
0.1H
0.1H 1H
Width of projected image
Shift to left Shift to right
1V
Normal projection
Position
Downloaded From projector-manual.com NEC Manuals

Table of Contents

Related product manuals