EasyManua.ls Logo

NEFF D5625X0 - Elektrische Aansluiting; Elektrische Gegevens

NEFF D5625X0
Print Icon
To Next Page IconTo Next Page
To Next Page IconTo Next Page
To Previous Page IconTo Previous Page
To Previous Page IconTo Previous Page
Loading...
De afzuigkap mag uitsluitend worden aan-
gesloten op een stopcontact met randaar-
de dat volgens de voorschriften is geïnstal-
leerd. Het stopcontact met randaarde dient
zo dicht mogelijk bij het apparaat te worden
aangebracht en dient toegankelijk te zijn.
Als het stopcontact na de montage van de
afzuigkap
niet bereikbaar is, moet er een
stroomonderbreker worden aangebracht in
de huisinstallatie. Als stroomonderbreker
gelden schakelaars met een contactope-
ning van meer dan 3mmenuitschakeling
voor alle polen. Hiertoe behoren veiligheids-
schakelaars en zekeringen.
Bij reparaties moet het gehele apparaat
stroomloos worden gemaakt.
Reparaties mogen uitsluitend door een
vakman worden uitgevoerd.
Wanneer de aansluitkabel van dit appa-
raat beschadigd raakt, moet hij worden
vervangen door de fabrikant, diens klanten-
service of een overeenkomstig gekwalifi-
ceerde persoon, om gevaren te voorkomen.
Door ondeskundige reparaties kunnen er
aanzienlijke gevaren ontstaan voor de
gebruiker.
Lengte van de aansluitkabel: 1,20 m.
Elektrische gegevens:
De elektrische gegevens vindt ubinnen in
het apparaat op het typeplaatje; hiertoe
dient uhet filterframe te verwijderen.
Nooit in de luchtafvoeropening grijpen.
Dit apparaat voldoet aan de EG-radio-
ontstoringsvoorschriften.
33
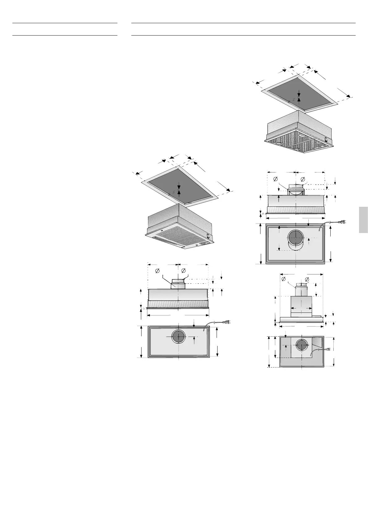
De afzuigkap is zeer geschikt voor inbouw
in schoorstenen en rookvangers.
Vo
or een optimale afzuigwerking
(vooral belangrijk bij kookeilanden:
De afzuigkapzohoog mogelijk in de
ombouw
monteren.
De ombouw moet het gehele kook-
vlak bedekken.
Voor de inbouw moeten afhankelijk van
de variant de volgende uitsparingen
beschikbaarzijn:
Afzuigkap met wipschakelaar, 53 cm breed,
1motor:
min
10
min
15
500
-3
260
-3
16
160
47
75
120
248
248
75
100
280
530
12
256
Afzuigkap met schuifregelaar,53cmbreed,
met 1of2motoren:
min
15
min
15
500
-3
16
352
-3
9
346
380
530
160
55
95
150
120
248
248
100
35
225
310
160
150
120
95
80
60
496
9
230
250
380
530
346
Elektrische aansluiting Inbouwen

Related product manuals