EasyManua.ls Logo

NEFF D5655X0 - Branchement Électrique; Montage; Données Électriques

NEFF D5655X0
Print Icon
To Next Page IconTo Next Page
To Next Page IconTo Next Page
To Previous Page IconTo Previous Page
To Previous Page IconTo Previous Page
Loading...
25
La fiche mâle de la hotte aspirante ne
pourra êtrebranchée que dans une prise
secteur àcontacts de terreréglementaire-
ment posée. Installez cette prise de
préférence accessible àproximité de la
hotte. Si une fois la hotte montée cette
prise n'est plus accessible, il faudra prévoir
un
dispositif de coupuretous pôles dans le
secteur.Valent comme dispositif de coupu-
re les commutateurs présentant une ouver-
tureentrecontacts de plus de 3mmpour
chaque pôle. Les disjoncteurs et contac-
teurs entrent dans cette catégorie.
Avant d'effectuer des réparations sur l'ap-
pareil, mettez-le systématiquement hors
tension.
Les réparations ne pourront êtreconfiées
qu'à des spécialistes.
Si le cordon de raccordement au sec-
teur de cet appareil endommagé, il
faudra, pour éviter tout risque, confier son
remplacement au fabricant, àson service
après-vente ou àune personne détentrice
de qualifications équivalentes.
Des réparations inexpertes peuvent ent-
raîner des risques considérables pour
l'utilisateur.
Longueur du cordon de branchement:
1,20 m.
Données électriques:
Les données électriques se trouvent sur la
plaque signalétique accessibles après avoir
enlever le cadredufiltre, àl'intérieur de
l'appareil.
N'introduisez pas les doigts dans l'orifi-
ce de sortie d'air.
Cet appareil est conforme aux dispositions
communautaires d'antiparasitage.
La hotte aspirante convient particulière-
ment àl'incorporation dans des cheminées
murales et suspendues.
Pour obtenir un rendement d'aspiration
optimal
(très important pour les solutions en ilôt):
Encastrez la hotte le plus haut possi-
ble dans les éléments périmétriques.
Les éléments doivent recouvrir l'en-
semble de la surface de cuisson.
En vue de l'encastrement et suivant la
variante, il faudra avoir préalablement
réalisé les découpes suivantes:
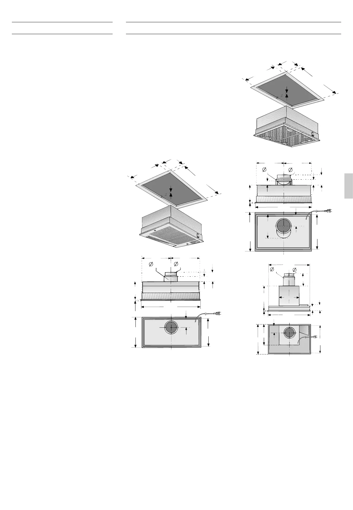
Hottes aspirante avec commutateur àbas-
cule: largeur 53 cm, à1moteur:
min
10
min
15
500
-3
260
-3
16
160
47
75
120
248
248
75
100
280
530
12
256
Hotte àcurseur Largeur 53 cm, à1et2
moteurs:
min
15
min
15
500
-3
16
352
-3
9
346
380
530
160
55
95
150
120
248
248
100
35
225
Branchement électrique Montage
310
160
150
120
95
80
60
496
9
230
250
380
530
346

Related product manuals