EasyManua.ls Logo

NEFF D5655X0 - Page 57

NEFF D5655X0
Print Icon
To Next Page IconTo Next Page
To Next Page IconTo Next Page
To Previous Page IconTo Previous Page
To Previous Page IconTo Previous Page
Loading...
57
απρρητήρα κυίνα επιτρέπεται
να
συνδεθεί στ δίκτυ τυ ηλεκτρικύ
ρεύµατ µνν µέσω πρία σύκ,
εγκατεστηµένη σύµωνα µε τι ισύυσε
πρδιαγραέ.
Ηπρία σύκ πρέπει να εγκατασταθεί
σε πρσιτή θέση πλύ κντά στν
απρρητήρα.
Αν µετά την τπθέτηση
τυ απρρητήρα ηπρία σύκ δεν
είναι πλέν πρσιτή, πρέπει να πρλεθεί
απ
την πλευρά τη εγκατάσταση µία
διάταη απµνωση. Ω διατάει
απµνωση ισύυν διακπτε µε διάκεν
επαή άνω των 3mαι διακπή σε
λυ τυ πλυ. Σ' αυτέ ανήκυν
ι
διακπτε LS και ι πρστατευτικέ
διατάει.
Σε
περίπτωση επισκευών πρέπει γενικά να
απµνώνεται ησυσκευή απ τ ρεύµα.
ι
επισκευέ επιτρέπεται να γίννται µν
απ εειδικευµέν πρσωπικ.
Σε περίπτωση πυ τ τρδτικ
καλώδι τη συσκευή αυτή υπστεί
ηµιέ,
αυτ πρέπει να αντικατασταθεί
απ τν κατασκευαστή ήαπ την
ευσιδτηµένη υπηρεσία τενική
ευπηρέτηση
πελατών ήκάπι
ευσιδτηµέν πρσωπια να
απεύγνται ι κίνδυνι.
Απ µη σωστέ επισκευέ µπρύν να
πρκύψυν σαρί κίνδυνι για τν
ρήστη.
Μήκ τυ τρδτικύ καλωδίυ:
1,20 m.
Ηλεκτρλγικά αρακτηριστικά:
Αυτά ρίσκνται στην πινακίδα τύπυ,
ηπία αίνεται µετά την ααίρεση τυ
πλαισίυ τυ ίλτρυ, στν εσωτερικ
ώρ τη συσκευή.
Μη άετε τα έρια σα στην έδ
ακάθαρτυ αέρα.
Αυτ απρρητήρα κυίνα
ανταπκρίνεται στι διατάει τη ΕΚ
περί αντιπαρασιτικών συστηµάτων.
απρρητήρα είναι ιδιαίτερα
κατάλληλ για την τπθέτηση σε
καµινάδε
και τάκια.
Γι
ατην ιδανική απδση απρρηση
(ιδιαίτερα σηµαντικ σε περίπτωση
τπθέτηση
τη ηλεκτρική κυίνα
στ κέντρ τυ δωµατίυ):
α
πρρητήρα πρέπει να
τπθετηθεί σ τ δυνατν πι ψηλά
εντ
των περιαλλντων ερµαρίων.
Τα περιάλλντα ερµάρια πρέπει να
καλύπτυν
λκληρη την επιάνεια
τη άση εστιών.
Γι
ατην τπθέτηση πρέπει ανάλγα µε
την παραλλαγή να υπάρυν τα ακλυθα
ανίγµατα:
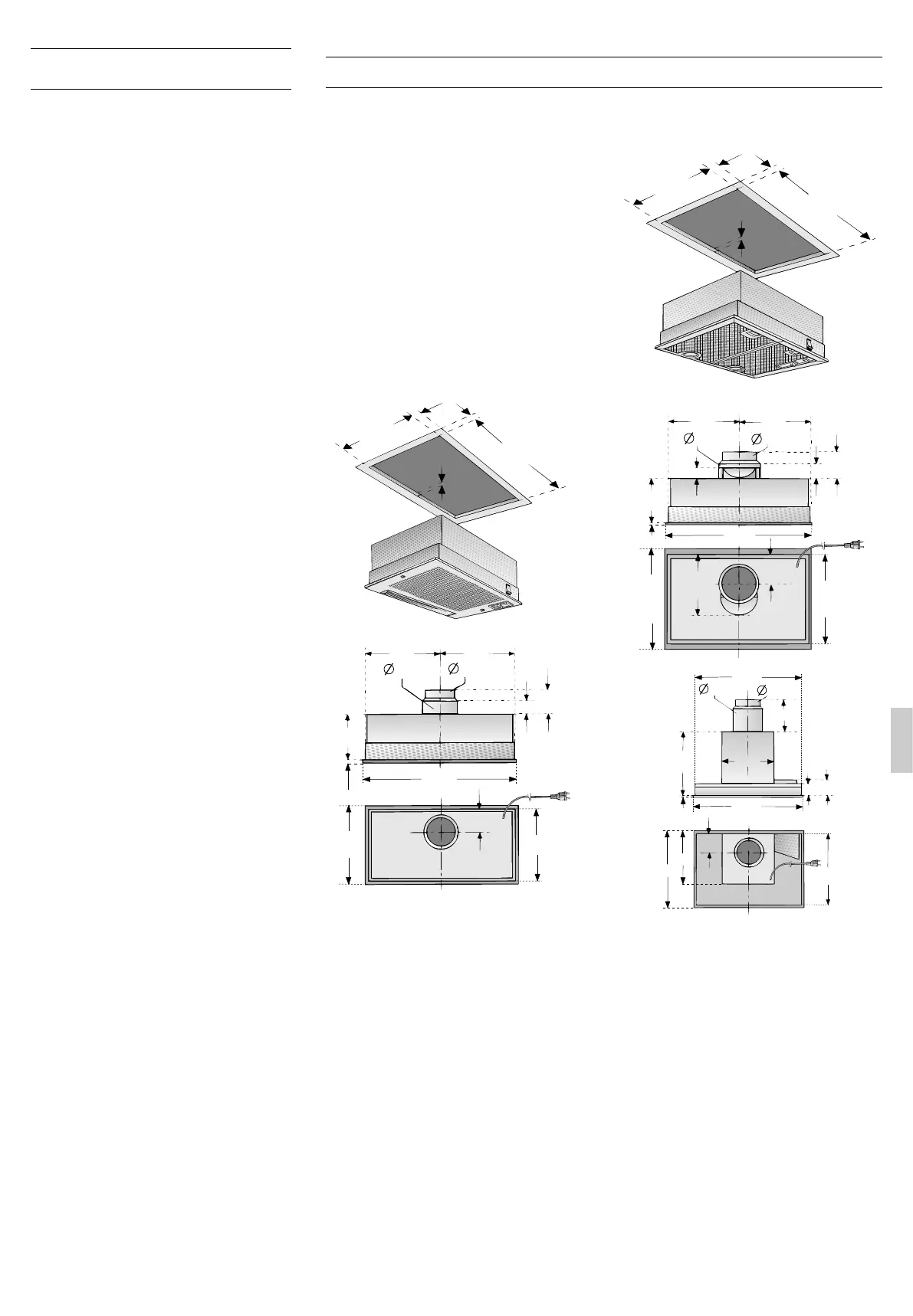
Απρρητήρα µε πληκτρδιακπτη,
53
cm πλάτ, µε ινητήρα:
160
47
75
120
248
248
75
100
280
530
12
256
min
10
min
15
500
-3
260
-3
16
Τπθέτηση
Σύνδεση στ δίκτυ τυ
ηλεκτρικύ
ρεύµατ
Απρρητήρα µε συρταρωτ διακπτη,
53
cm πλάτ, µε αι ινητήρε:
9
346
380
530
160
55
95
150
120
248
248
100
35
225
min
15
min
15
500
-3
16
352
-3
310
160
150
120
95
80
60
496
9
230
250
380
530
346

Related product manuals