EasyManua.ls Logo

Newlong DD-5 - Page 19

Newlong DD-5
24 pages
Print Icon
To Next Page IconTo Next Page
To Next Page IconTo Next Page
To Previous Page IconTo Previous Page
To Previous Page IconTo Previous Page
Loading...
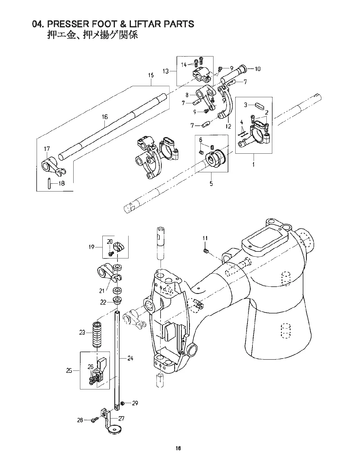
04.
PRESSER
FOOT
& UFTAR
PARTS
fl¥.:r.~,
fl¥
Jlti-3/
M-f*
23
25
29
16
From the Library of Superior Sewing Machine & Supply LLC

Other manuals for Newlong DD-5

Related product manuals