EasyManua.ls Logo

Nissan Urvan - Page 150

Nissan Urvan
167 pages
Print Icon
To Next Page IconTo Next Page
To Next Page IconTo Next Page
To Previous Page IconTo Previous Page
To Previous Page IconTo Previous Page
Loading...
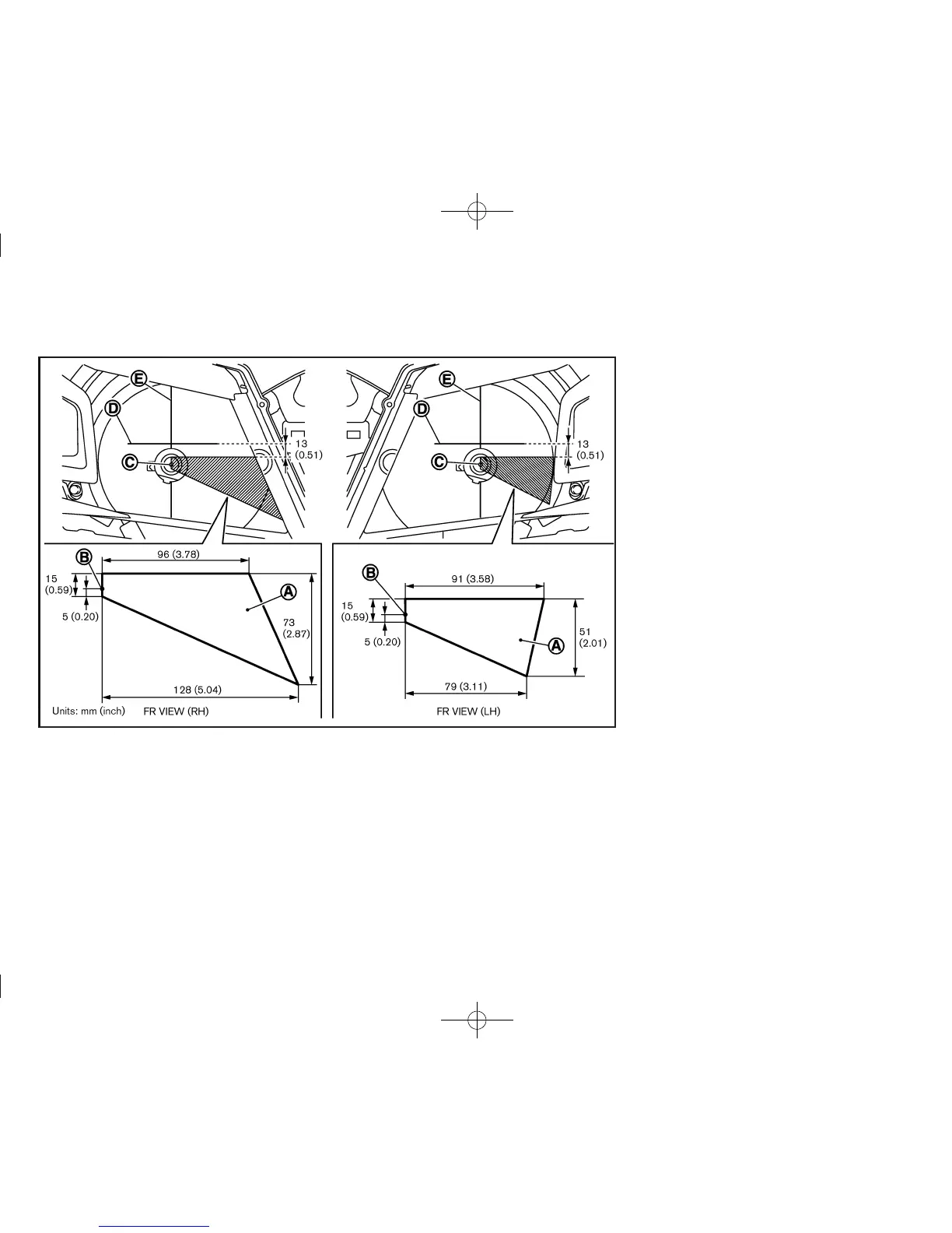
Black plate (151,1)
[ Edit: 2012/ 4/ 9 Model: E26-A ]
JVM0145X
Left-Hand Drive (LHD) model
Maintenance and do-it-yourself 8-29

Related product manuals