EasyManua.ls Logo

NLB 1312D - Page 218

Default Icon
244 pages
Print Icon
To Next Page IconTo Next Page
To Next Page IconTo Next Page
To Previous Page IconTo Previous Page
To Previous Page IconTo Previous Page
Loading...
Revision 7
Wl-
>w
_J _J
<(Z
>-
© Copyright April, 2002 NLB Corporation
I
Wl-
>w
_J
_J
<(
I-
>
:::::>
0
9-30
I
I
I
~1
w
_JI
BJ
I
I-
<(
5:
I
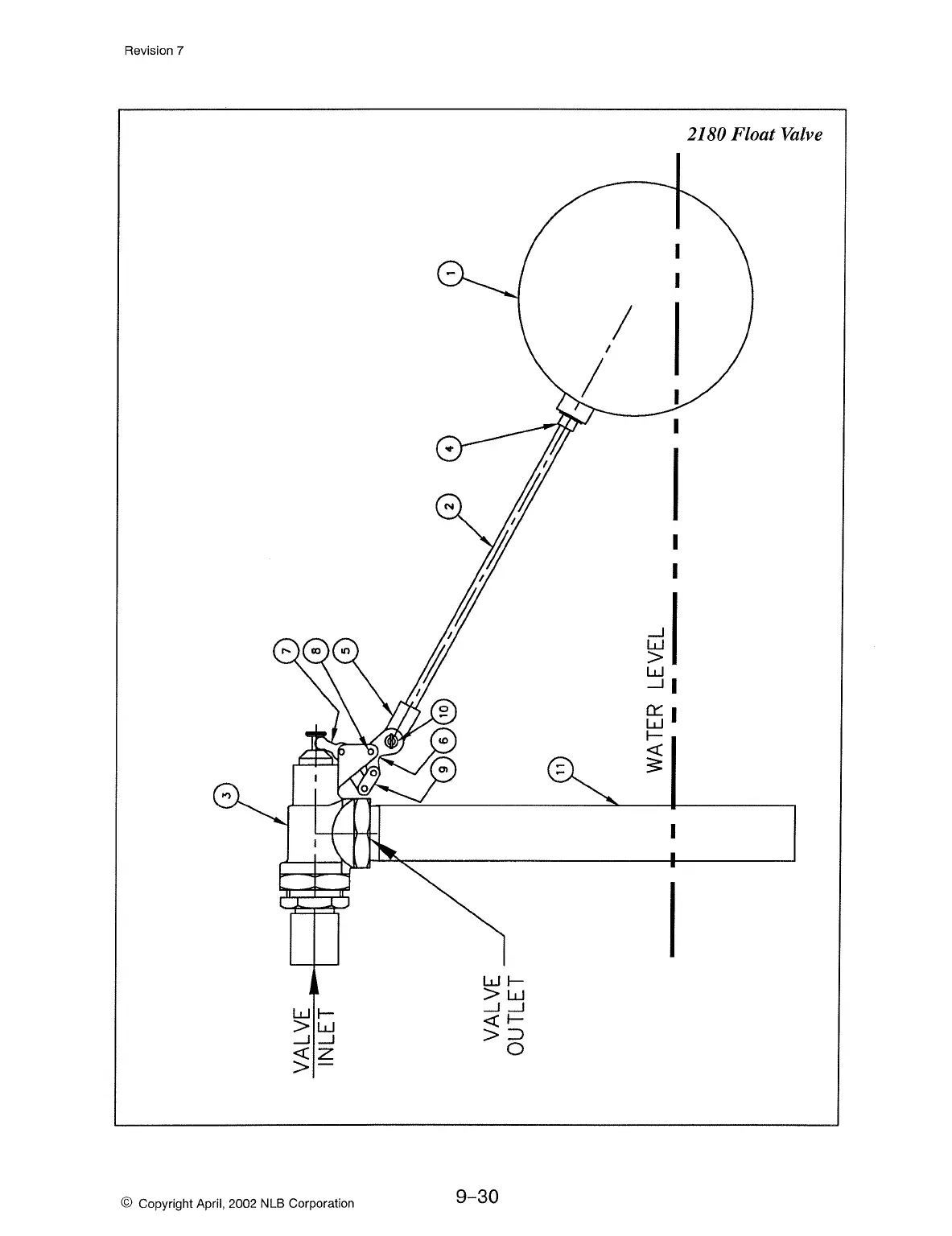
2180 Float Valve

Table of Contents

Related product manuals