EasyManua.ls Logo

NODOR V18B - Branchement Électrique

NODOR V18B
Print Icon
To Next Page IconTo Next Page
To Next Page IconTo Next Page
To Previous Page IconTo Previous Page
To Previous Page IconTo Previous Page
Loading...
Branchement électrique
Vériez que la tension indiquée sur le produit correspond à la
tension de votre alimentation.
AVERTISSEMENT : Une mauvaise utilisation de la prise de
terre peut entraîner un risque de décharge électrique. Si le cor-
don d’alimentation est endommagé, faites le remplacer par un
électricien qualié ou un réparateur autorisé.
L’appareil doit être correctement mis à la terre pour votre
sécurité. Le cordon d’alimentation de cet appareil est équipé
d’une prise correspondant aux prises de terre standards an de
minimiser le risque de décharge électrique.
N’enlevez ou ne coupez en aucun cas la che de terre du cordon
d’alimentation fourni. Pour votre sécurité, cet appareil doit être
correctement mis à la terre.
L’appareil nécessite une prise de courant standard avec mise à
la terre 220-240 Volt CA ~50Hz. Faites vériez la prise murale et
le circuit électrique par un électricien qualié an de vous assurer
que la prise est bien mise à la terre. S’il n’y a qu’une prise stan-
dard à 2 ches, il est de votre responsabilité de la faire remplacer
par une prise murale à 3 ches mise correctement à la terre.
Le cordon doit être protégé derrière l’appareil et ne pas être lais-
sé à la vue ou pendant an d’éviter toute blessure accidentelle.
L’appareil doit être toujours branché à sa propre prise électrique
avec un voltage correspondant à l’étiquette qui est apposée sur
l’appareil.
C’est ainsi qu’il fonctionnera le mieux et vous éviterez ainsi de
surcharger les câblages de votre maison, ce qui pourrait provo-
quer un risque d’incendie du fait d’une surchauffe. Ne débran-
chez jamais l’appareil en tirant sur le cordon. Saisissez toujours
fermement la prise et retirez-la en tirant en ligne droite de la prise
murale. Réparez ou remplacez immédiatement tous les cordons
d’alimentation eflochés ou endommagés. N’utilisez pas un cor-
don ssuré ou usé par frottement sur toute sa longueur ou à
chaque extrémité.
Lorsque vous déplacez l’appareil, faites attention de ne pas en-
dommager le cordon.
Une protection électrique par fusible de 10 ampères minimum
est indispensable. Si la prise électrique n’est plus accessible une
fois l’appareil encastré, des mesures doivent être prises pen-
dant l’installation électrique an de pouvoir toujours débrancher
l’appareil du réseau électrique.
N’utilisez pas votre appareil avec un prolongateur, sauf si ce
cordon a fait l’objet de tests par un électricien qualié ou un -
parateur. Le prolongateur doit respecter les normes électriques
et avoir donc 3 ls et une mise à la terre avec une che pour la
terre et une prise ; ses caractéristiques électriques doivent être
de 220-240 volts et 10 ampères au minimum.
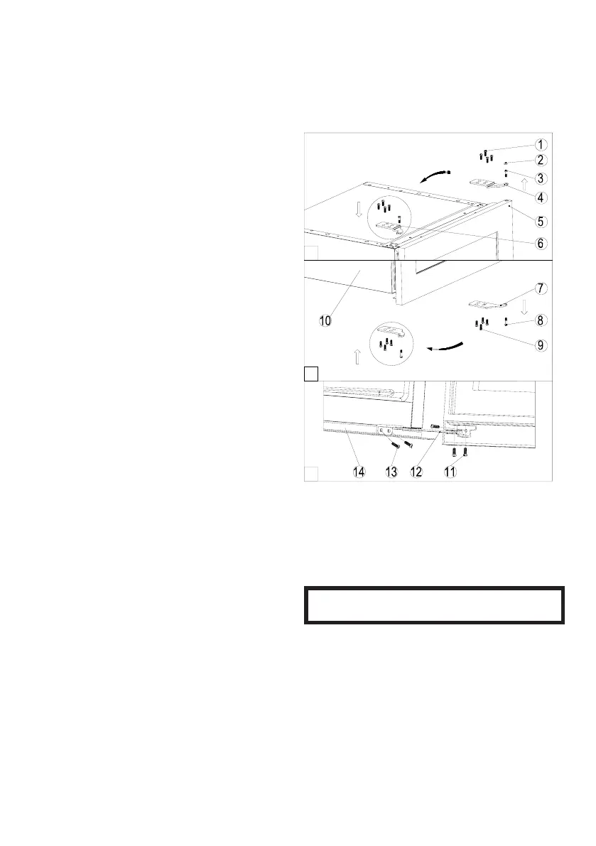
Inversion du sens d’ouverture de la porte de votre
appareil
Si vous souhaitez inverser la direction d’ouverture, veuillez sui-
vre les instructions ci-dessous.
Fermez la porte vitrée et retirez la pastille décorative (2). Dé-
vissez la cheville de charnière supérieure (3) et la cheville de
charnière inférieure (8). Tenez fermement la porte vitrée an de
l’empêcher de tomber une fois les chevilles retirées. (Figures
1&2)
Tirez vers le bas pour retirer la porte vitrée et placez-la sur une
surface rembourrée an d’éviter de la rayer.
Retirez le support de charnière supérieure droite (4) en dévissant
les quatre vis (1) et prenez le support de charnière supérieure
gauche (6) dans le sac en plastique, fourni avec le manuel de
l’utilisateur, puis installez-le à la position indiquée sur le côte op-
posé. (Figure 1)
Retirez le support de charnière inférieure (7) en dévissant les
quatre vis (9). Retournez-le maintenant et xez-le sur le côte op-
posé (Figure 2).
Faites tourner la porte vitrée de 180° et remettez les chevilles
de charnières (3) & (8) au travers du support de charnière supé-
rieure (6) et du support de charnière inférieure (7) dans la porte.
Assurez-vous que les séparateurs sur lesquels sont placées les
chevilles de charnières sont bien en place.
Mettez la porte à niveau en ajustant les vis utilisées pour xer
le support de charnière supérieure et le support de charnière
inférieure.
3
2
1
1. Vis
2. Pastille décorative
3. Cheville de charnière
supérieure
4. Support de charnière su-
périeure droite
5. Porte en verre
6. Support de charnière supé-
rieure gauche
7. Support de charnière infé-
rieure
8. Cheville de charnière infé-
rieure
9. Vis
10. Carcasse
Remarque : Toutes les pièces retirées doivent être
conservées pour pouvoir réinstaller la porte.
Fonctionnement de votre cave à vins
La cave à vins doit être située à un endroit où la température
ambiante est comprise entre 16-35°C/60~95ºF. Si la températu-
re est supérieure ou inférieure à cette plage, le fonctionnement
pourrait en être affecté. Par exemple, si vous placez votre appa-
reil dans des conditions de froid ou de chaleur extrême, les tem-
pératures intérieures vont uctuer. La plage de 5-22°C/40~72ºF
ne sera probablement pas atteinte. (Modèle en colonne)
La plage de 5-18ºC ne sera probablement pas atteinte. (Modèle
encastrable).

Related product manuals