EasyManua.ls Logo

Norcold 452 - Earlier Version Information

Norcold 452
30 pages
Print Icon
To Next Page IconTo Next Page
To Next Page IconTo Next Page
To Previous Page IconTo Previous Page
To Previous Page IconTo Previous Page
Loading...
This Page Contains Information on Earlier Versions
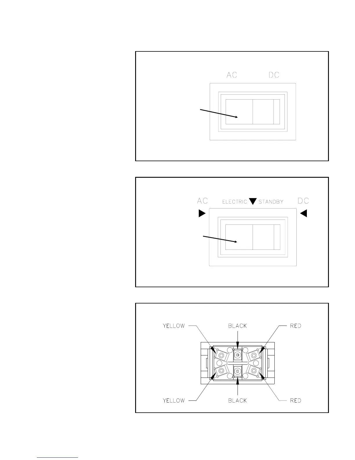
On earlier versions of 3-Way
models, the control panels were
built with a 2-Position AC-DC
switch. Later models have a 3-Posi-
tion switch labeled "AC-ELECTIC
STANDBY-DC". See Figure 1 and 2.
5-Amp Fuse Blows
Intermittently
Symptom:
Blowing of 5 Amp fuse when
switching from "AC" to "DC"
or "DC" to "AC".
When operating the refrigera-
tor in the "ELEC" mode and the
gas Ignition Switch is left "ON",
components of the relighter
can burn out when the 2-Posi-
tion switch is changed from
"AC" to "DC" or "DC" to "AC".
Possible Cause:
If the control panel has a 2-Po-
sition "AC-DC" switch, it may be
defective.
Remedy:
Replace the AC/DC (2-Posi-
tion) switch with the AC/ELEC-
TRIC STANDBY/DC (3-Posi-
tion) switch.
The replacement AC-DC Selector
Switch (61694822) has a feature
which the control panel nomencla-
ture does not indicate.
The switch has a center position
as shown in Figure 2.
The addition of the center position
provides a user convenience and
is labeled ELECTRIC STANDBY.
When operating in the electric
mode, there are occasions when
electric power needs to be tempo-
rarily shut off. (example: When op-
erating in the DC mode, an RV
makes a short stop, thereby shut-
ting down the battery re-charge
means. The user can flip the switch
to ELECTRIC STANDBY to con-
serve battery charge.)
The new switch wire connections are the same as the old switch.
Figure 3
2-Position Switch
Part # 61611322
Direct Replacement for Part # 61611322
Figure 1 2-Position Switch
3-Position Switch
Part # 61694822
Figure 2 3-Position Switch
B101
3-1

Related product manuals