EasyManua.ls Logo

Norcold DE-251E - Cooling Unit Area; Cooling Unit Components

Norcold DE-251E
6 pages
Print Icon
To Next Page IconTo Next Page
To Next Page IconTo Next Page
To Previous Page IconTo Previous Page
To Previous Page IconTo Previous Page
Loading...
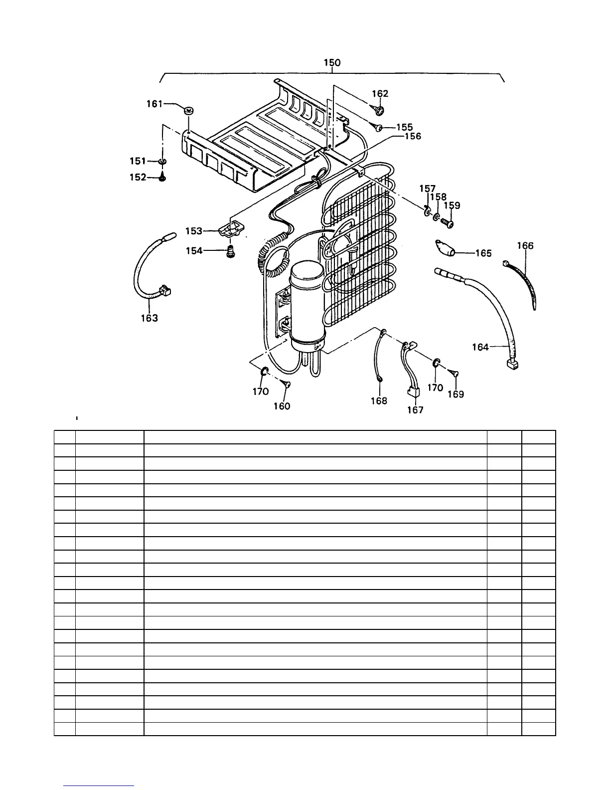
DE251E/EV251E PARTS LIST - PAGE 5
COOLING UNIT AREA - DE251E/EV251E
NO. PART # DESCRIPTION DE251E EV251E
150 161005010 COOLING UNIT-DE251E/DC254A/DE250G X
161005040 COOLING UNIT-EV251E X
151 403001700 WASHER-"I" XX
152 80800441620 SCREW-TAPPING/M4x16 X X
153 422305000 HOLDER-THERMISTER/AT EVAPORATOR X X
154 8080043082 SCREW-TAPPING XX
155 500800400 SCREW-TAPPING XX
156 322132800 HOLDER-CONDENSER XX
157 322005310 HOLDER-CONDENSER WASHER X X
158 8320042003 WASHER-SPRING LOCK X X
159 8080043163 SCREW-TAPPING XX
160 80830431210 SCREW-TAPPING/M4x12 X X
161 422000700 COLLAR-"I"/AT EVAPORATOR X X
162 8073044121 SCREW-TAPPING/WITH TEETH LOCK WASHER X X
163 605503201 THERMISTER-EVAPORATOR X X
164 605503300 THERMISTER-WIRE CONDENSER (USE 605503301) X X
165 410110200 CAP-THERMISTER XX
166 645105900 FASTENER XX
167 190228600 COUPLER ASSY XX
168 192116604 CORD WITH TERMINAL-GROUND CORD X X
169 8040043081 SCREW-TRUSS TAPPING/M4x8 X X
170 83400400010 WASHER-TEETH LOCK XX

Related product manuals