EasyManua.ls Logo

Noritz NH-2001-DV - Page 24

Noritz NH-2001-DV
31 pages
Print Icon
To Next Page IconTo Next Page
To Next Page IconTo Next Page
To Previous Page IconTo Previous Page
To Previous Page IconTo Previous Page
Loading...
24
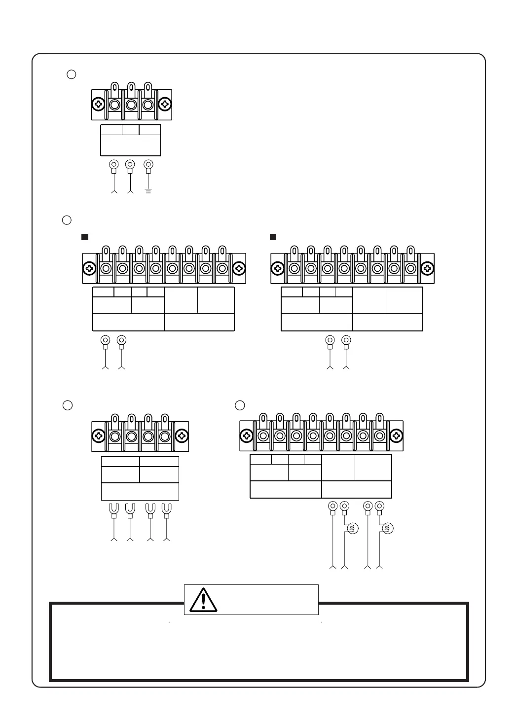
B
Priority 1
(Indirect Tank)
Priority 1 (Indirect Tank)
Priority 2
(Heating)
Burner Power
Power supply for circulator
AC120Volts Max. 2.2Amp.
Circulation terminal
For External Lamp
No Power supply (Only Contact)
Hot
Neutral
Hot
Neutral
Priority 1
(Indirect Tank)
Priority 2
(Heating)
Priority 2 (Heating)
Burner Power
Power supply for circulator
AC120Volts Max. 2.2Amp.
For External Lamp
No Power supply (Only Contact)
Hot
Neutral
Hot
Neutral
A
C
D
120VAC
ThermostatAquastat
Priority 1
(Indirect Tank)
Priority 2
(Heating)
T - T Connection
(DC15V 0.1Amp.)
Hot GND
Power Input
AC120Volts
Power connection to the boiler.
Connection to
the terminal.
Connection to
the terminal.
Connection to
the terminal.
Connection to
the terminal.
When burning,
the lamp turns
to "ON".
When the power on/off button
is "ON", lamp turns to "ON".
Input up to
120VAC 1Amp.
Input up to
120VAC 1Amp.
Ground
Input
120VAC output
Connect the signal line from
the indirect tank (Aquastat)
Connect the signal line from
the room thermostat
Connection to
the terminal.
120VAC output
Neutral
External LampSignal line connection
Priority 1
(Indirect Tank)
Priority 2
(Heating)
Burner Power
Power supply for circulator
AC120Volts Max. 2.2Amp.
For External Lamp
No Power supply (Only Contact)
Hot
Neutral
Hot
Neutral
ff
CAUTION
Pump Cautions
- Use the circulating pumps listed below or their equivalents. Add a pump if these are too small. The pump terminal
in the unit is rated for 2.2 Amps.
(See p. 25 for instructions for pumps that require greater than 2.2 Amps).
Taco Model 0013:F3 (1/6 HP) Grundfos Model 26-99F (1/6 HP) Size the circulating pump based on the pressure
loss of the boiler and the piping.
- Install the circulating pump near the return to the boiler.