EasyManua.ls Logo

Nortec WB60 - Page 12

Default Icon
23 pages
Print Icon
To Next Page IconTo Next Page
To Next Page IconTo Next Page
To Previous Page IconTo Previous Page
To Previous Page IconTo Previous Page
Loading...
12
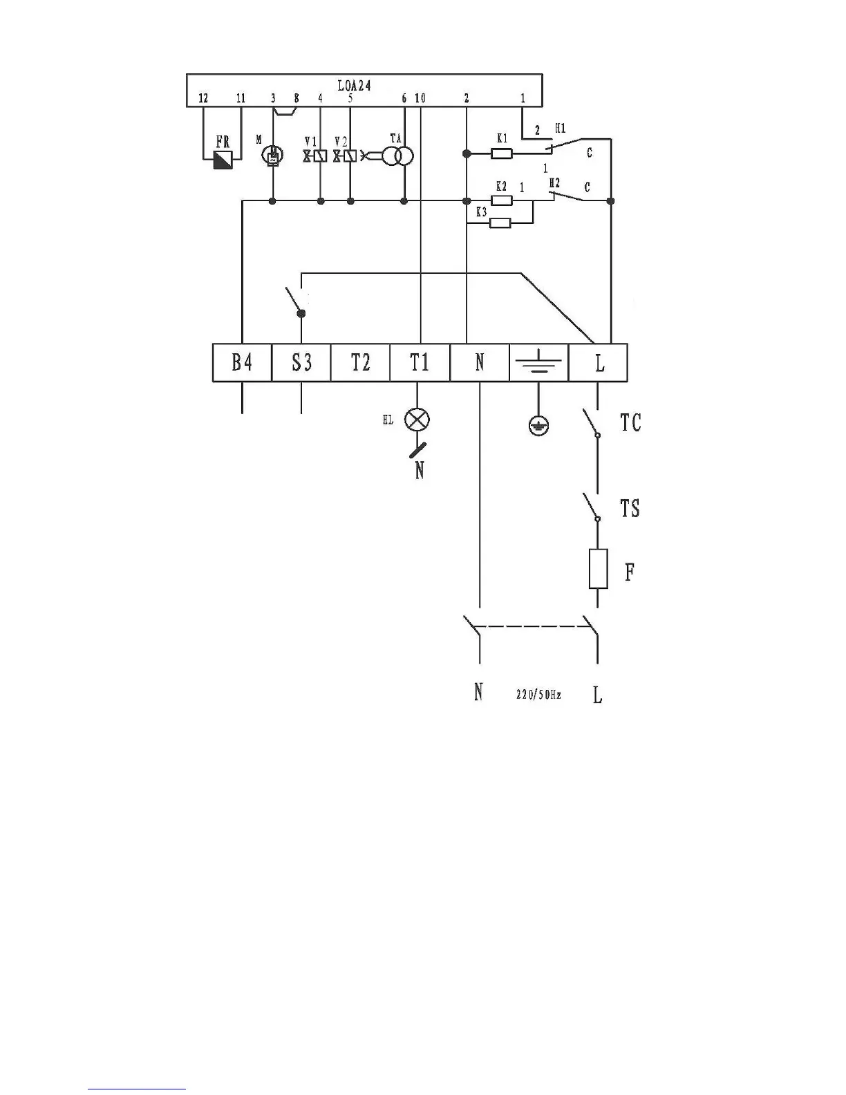
Pic.11 Electric diagram of burners NORTEC WB 230/270
Electric diagram symbols:
K1: Heater №1
K2: Heater №2
K3: Heating elements of fuel inlets
H1: Thermostat №1
H2: Thermostat №2
H3: Floating switch of a fuel pump
LOA24: Control chamber of the burner
TA: Ignition transformer
V1: electromagnetic valve of air inlet 1
V2: electromagnetic valve of air inlet 2
M: burner fan engine
FR: photocell
HL: external emergency shutdown signal
F: cutout (16A)
TC: boiler thermostat
TS: safety thermostat
Electric diagrams of NORTEC burners WB 230 / 270 have an electromagnetic valve for
compressed air inlet 2.
To the pump of a
lifting unit
Н3
Burner socket