EasyManua.ls Logo

Nortec WB60 - Electric Wiring Diagram

Default Icon
23 pages
Print Icon
To Next Page IconTo Next Page
To Next Page IconTo Next Page
To Previous Page IconTo Previous Page
To Previous Page IconTo Previous Page
Loading...
11
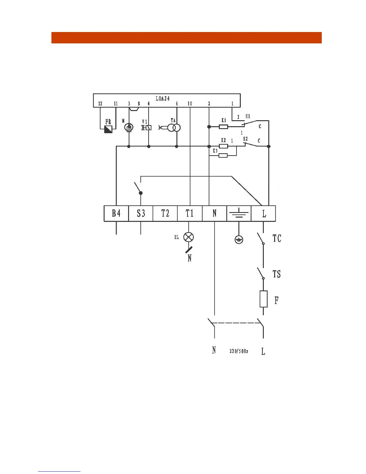
10. Electric wiring diagram
NB! Installation, connection and adjustment works on burners NORTEC WB must be carried
out only by qualified staff having a pass to electric installation, experience in service and
installation of these burner types and authorized by the producer or official distributer of
NORTEC equipment.
Pic. 10 Electric diagram of burners NORTEC WB 60/120
Н3
To the pump of a
lifting unit
Burner socket