EasyManua.ls Logo

NorthStar 6500 DPG - Page 14

Default Icon
14 pages
Print Icon
To Previous Page IconTo Previous Page
To Previous Page IconTo Previous Page
Loading...
13
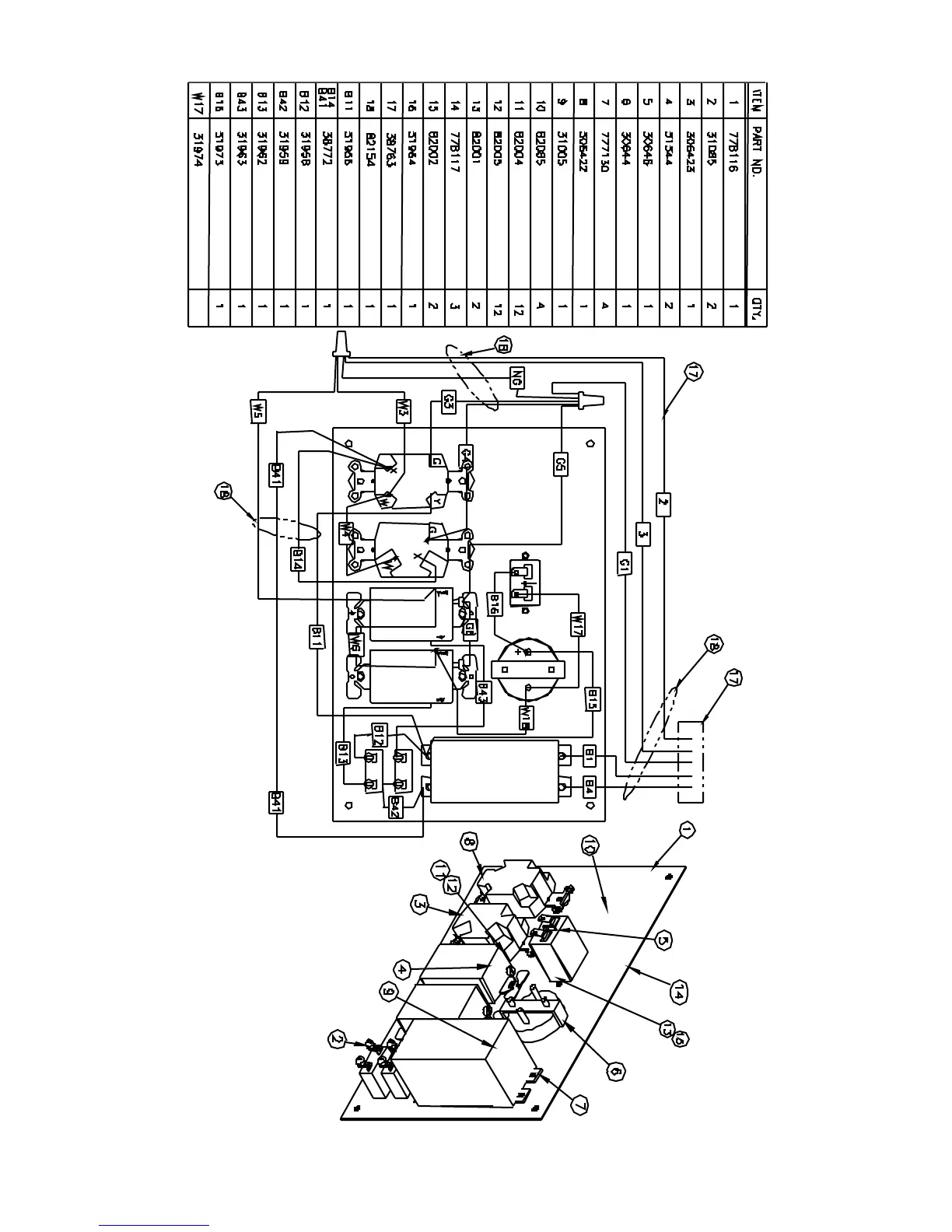
Wiring Diagram 778120
#1
#2
#4 #3
#6
#5

Related product manuals