EasyManua.ls Logo

NorthStar 6500 DPG - Generator Features

Default Icon
14 pages
Print Icon
To Next Page IconTo Next Page
To Next Page IconTo Next Page
To Previous Page IconTo Previous Page
To Previous Page IconTo Previous Page
Loading...
4
GENERATOR FEATURES
Reference 1 Generator. The generator is
equipped with a high quality brushless generator. The
generator is maintenance free and will provide years of
dependable service. The neutral is bonded to ground.
Reference 2 - Grounding Screw. Ground the
generator via the grounding screw, to a copper pipe or
rod that is driven into moist soil.
Reference 3 - Control Panel. See Figure 3 for
details.
WARNING Contact a licensed electrician to
wire electrical plugs and/or cord-sets. Improper wiring
could result in a fire or electrical shock.
Reference 4 - Vibration Isolation Mounts. The
engine and generator are mounted on rubber mounts
that absorb most of the engine vibration. This feature
eliminates the tendency of the machine towalk which
is common with engine powered equipment. If the
mounts appear damaged, replace with factory
approved parts.
Reference 5 - Oil Drain Plug. Removal of plug
allows drainage of oil from the engine. Consult your
Hatz engine manual for further details.
Reference 6 - Oil Filter Access Cover. Your
Hatz engine is equipped with a reusable oil filter. The
filter should be every 1000 hours of use. Consult your
Hatz engine manual for further details.
Reference 7 - Oil Fill and Dip Stick. Consult
your Hatz engine owners manual for details
concerning oil change intervals.
Reference 8 - Warning Decal. Never operate the
generator or engine until all warning labels are fully
understood. If warning labels are missing contact our
customer service department at 1-800-270-0810.
Reference 9 - Air Cleaner Housing. Refer to the
Hatz engine manual for air cleaner care.
Reference 10 - Recoil Handle. Consult your
owners manual for engine starting or refer to page 8
of this manual.
Reference 11 - Muffler. Never operate the
generator without the deflector installed in the upright
position.
Reference 12 - - Battery Box. Warning: Always
wear safety glasses when working on or near the
battery. The battery box provides protection for the
battery and will accept a standard lawn tractor size
battery (Group U1-7). The engine requires a 12 volt
battery, with a minimum rating of 36 Ah (Amp-hour).
When installing the battery, always connect the red
colored (positive” or+”) cable first. When
disconnecting the battery, always remove the black
colored (“negative” or “-”) cable first.
WARNING Sulfuric acid is a corrosive
poison. Avoid contact with skin, eyes or clothing.
Always wear safety glasses.
Reference 13 - Decal. Decal describes product
features.
Reference 14 - 6.5 Gallon Fuel Tank. Large
tank allows for extended run capabilities. Always
allow room for fuel expansion by not filling the tank
completely full.
Reference 15 - Fuel Cap with Gauge. The fuel
cap is extra large, creating a large hole for refilling and
a comfortable grip. You can always monitor the fuel
level without removing the cap by using the fuel level
indicator built into the fuel cap.
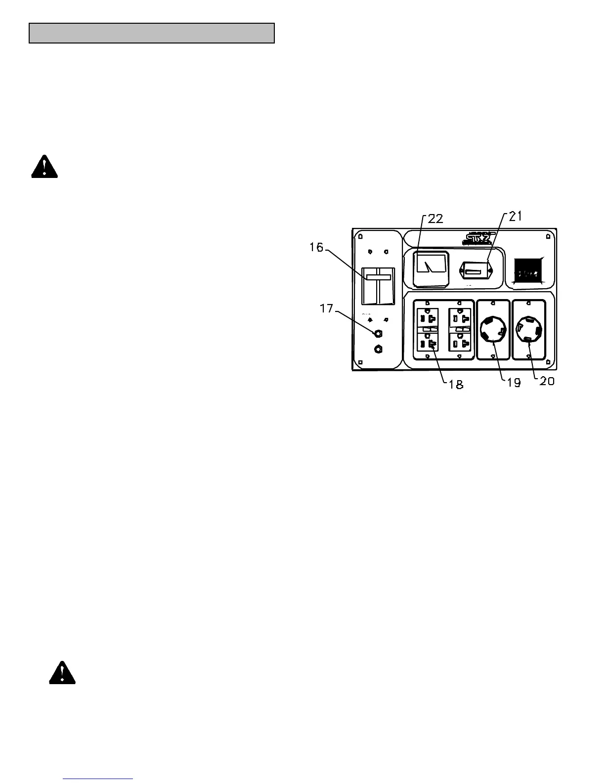
Figure 3 (Ref. 18-26)
Reference 16 - Main Line Breaker. The main line
breaker is a two-pole thermo-magnetic circuit breaker.
The circuit breaker will protect the generator from
overload and short circuit conditions. To reset the
circuit breaker move the toggle to the OFF position,
then back to the ON position. When this circuit
breaker is in the OFF position, all receptacles will be
off.
Reference 17 - Thermal Circuit Breakers. The
control panel has two thermal circuit breakers. If the
circuit breaker trips, a black post will extend from the
circuit breaker, push the black post to reset the circuit
breaker. If the circuit breaker will not reset, wait two
minutes and try again.
Reference 18 – 120 Volt-20 Amp GFCI Duplex
Receptacle. The control panel is equipped with four
120 Volt-20 Amp ground fault circuit interrupt (GFCI)
receptacles (NEMA 5-20R). The receptacles will
accept either NEMA 5-15P or NEMA 5-20P plugs. In
the center of each duplex receptacle there is both a
test/reset button and indicator lamp. If there is a fault
condition with a load connected to a duplex receptacle,
the indicator lamp will glow and the reset button will
extend. To test the GFCI press the test button and the
reset button should extend. The reset button must be
pushed to reset the receptacle.


  





  


 

 

POWER ED
BY

Related product manuals