EasyManua.ls Logo

NuTone WhispAire WA6500 Series - Page 8

NuTone WhispAire WA6500 Series
12 pages
To Next Page IconTo Next Page
To Next Page IconTo Next Page
To Previous Page IconTo Previous Page
To Previous Page IconTo Previous Page
Loading...
8
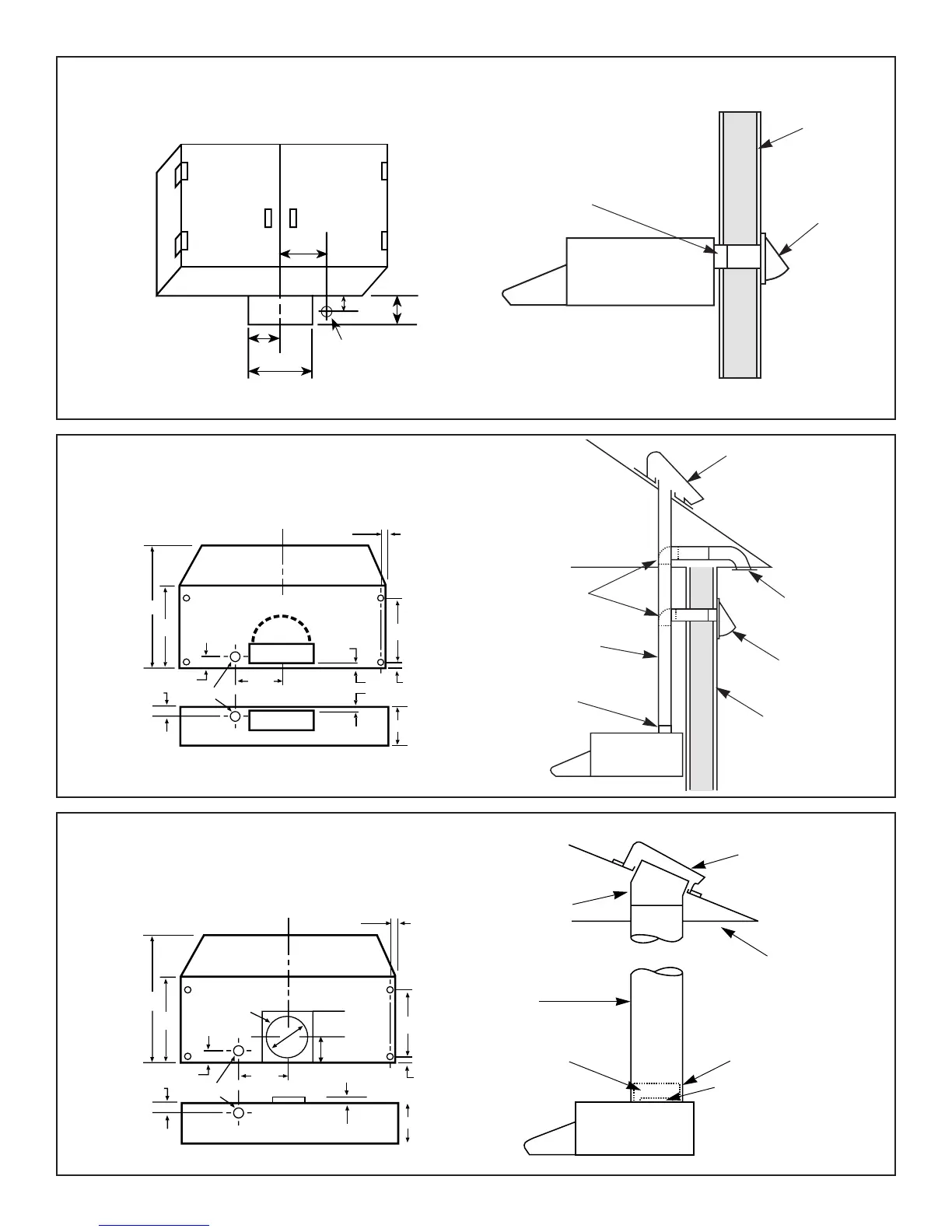
QUITE AMBAS TAPAS DE
AGUJEROS PREPUNZADAS,
LA DE 8,26 cm x 25, 4 cm Y EL
MEDIO CIRCULO DE 17,8 cm
DE DIAMETRO
TAPA DE TECHO
TECHO
CODO
AJUSTABLE
CONDUCTO
CIRCULAR
DE17,78 cm
REGULADOR
CIRCULAR
DE 17,78 cm
TRANSICION CIRCULAR DE
17,78 cm PROVISTA DE
CONDUCTO
CAMPANA
DE COCINA
ELEC. K.O.
CL
CL
DIMENSIONES DE SALIDA
VISTA
SUPERIOR
VISTA
POSTERIOR
44,45 cm
2, 54 cm
22,86 cm
30,48
cm
3,81 cm
15,24 cm
2,22 cm
19,05
cm
5,08 cm
1,91 cm
17,78 cm Dia.
(7" Dia.)
12,7 cm
TAPA DE PARED
CODO
TAPA DE ALERO
(Modelo 836AL)
PARED
CONDUCTO
8,26 cm x 25, 40 cm
TAPA E TECHO
(Modelo 634 o 644)
CAMPANA
DE COCINA
TRANSICION
PROVISTA
DE CONDUCTO
ELEC. K.O.
CL
CL
DIMENSIONES DE SALIDA
VISTA
SUPERIOR
VISTA
POSTERIOR
44,45 cm
2, 54 cm
22,86 cm
30,48
cm
3,81 cm
15,24 cm
1 cm
3,81 cm
19,05
cm
5,08 cm
1,91 cm
8,26 x 25,40 cm
8,26 x 25,40 cm
TAPA DE PARED
(Modelo 838AL)
PARED
CAMPANA
DE COCINA
TRANSICION
PROVISTA PARA
EL CONDUCTO
ARMARIO
DE COCINA
DIMENSIONES DE LA SALIDA
ORIFICIO PARA
EL CABLEADO
17,78
cm
13,34
cm
26,67
cm
9,84 cm
1,91 cm
FIGURA 1
DESCARGA HORIZONTAL
A TRAVES DE LA PARED
FIGURA 2
DESCARGA VERTICAL USANDO
UN CONDUCTO CIRCULAR DE 17,78 cm (7”)
FIGURA 3
DESCARGA VERTICAL USANDO
UN CONDUCTO DE 8,26 cm x 25,40 cm (3¼ x 10”)

Related product manuals