EasyManua.ls Logo

OMA 526 - Page 46

OMA 526
53 pages
Print Icon
To Next Page IconTo Next Page
To Next Page IconTo Next Page
To Previous Page IconTo Previous Page
To Previous Page IconTo Previous Page
Loading...
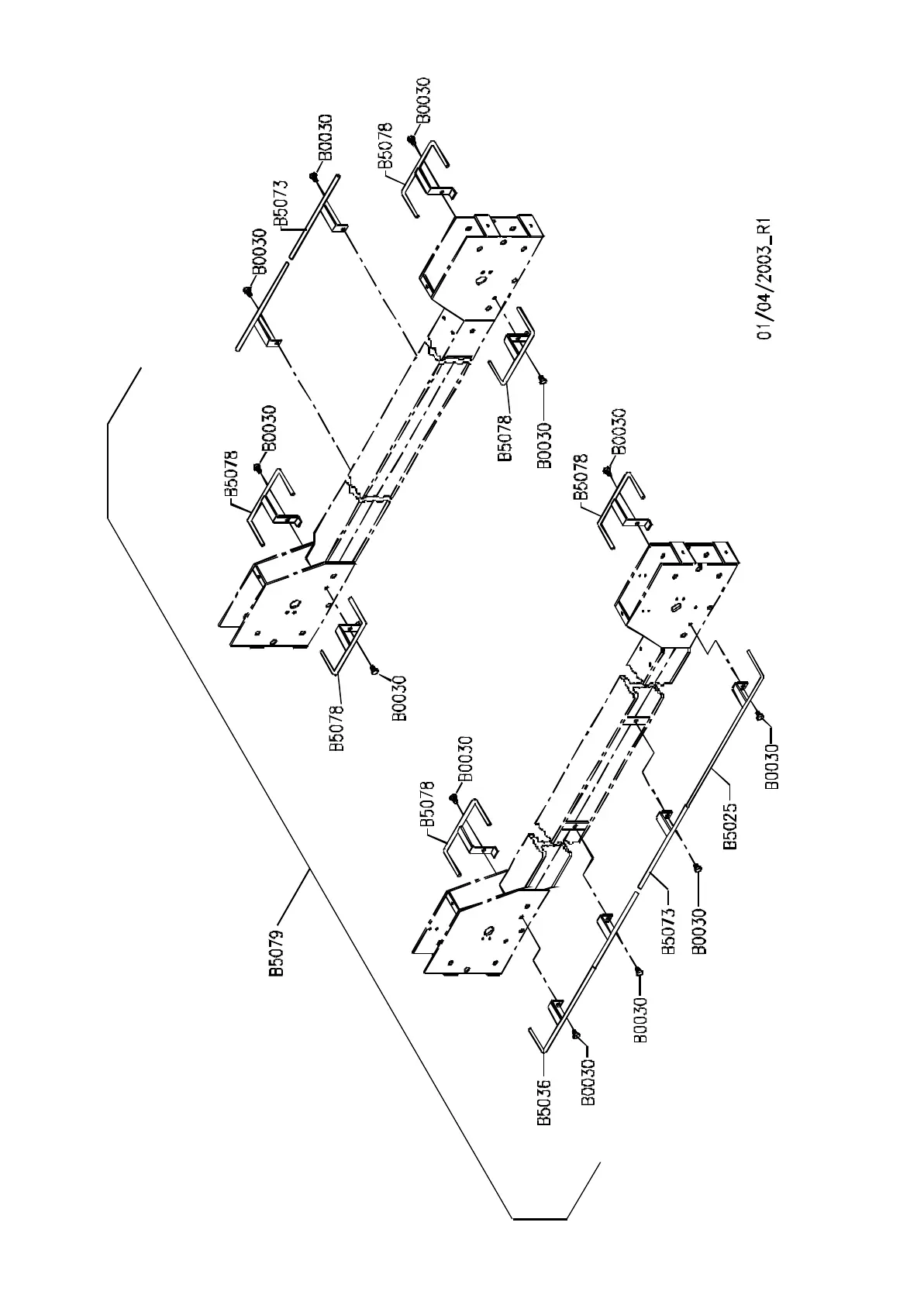
Salvapiedi Foot protection
44

Related product manuals