EasyManua.ls Logo

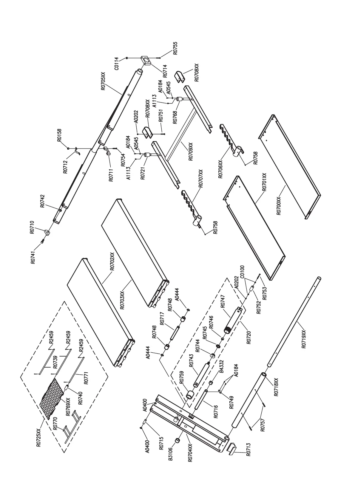
OMA 537 - Exploded View

Default Icon
19 pages
Print Icon
To Next Page IconTo Next Page
To Next Page IconTo Next Page
To Previous Page IconTo Previous Page
To Previous Page IconTo Previous Page
Loading...
ESPLOSO EXPLODED VIEW
16

Related product manuals