EasyManua.ls Logo

Onkyo HTX-22HD

Onkyo HTX-22HD
76 pages
To Next Page IconTo Next Page
To Next Page IconTo Next Page
To Previous Page IconTo Previous Page
To Previous Page IconTo Previous Page
Loading...
60
Advanced Setup
—Continued
Notes:
•To return to the previous menu, press the
[RETURN] button.
The Center and Subwoofer distances can
be set up to 5 ft. (1.5 m) more or less than
the Front distance. For example, if the
Front distance is set to 20 ft. (6 m), the
Center and Subwoofer distances can be set
between 15 and 25 ft. (4.5 and 7.5 m).
The Surround and Surround Back distances
can be set up to 5 ft. (1.5 m) more or 15 ft.
(4.5 m) less than the Front distance. For
example, if the Front distance is set to
20 ft. (6 m), the Surround and Surround
Back distances can be set between 5 and 25
ft. (1.5 and 7.5 m), and if the Front distance
is set to 10 ft. (3 m), they can be set
between 1 and 15 ft. (1 and 4.5 m).
Speaker Levels
With the Level Calibration settings, you can
adjust the volume of each speaker so that all
speakers can be heard equally at your listen-
ing position.
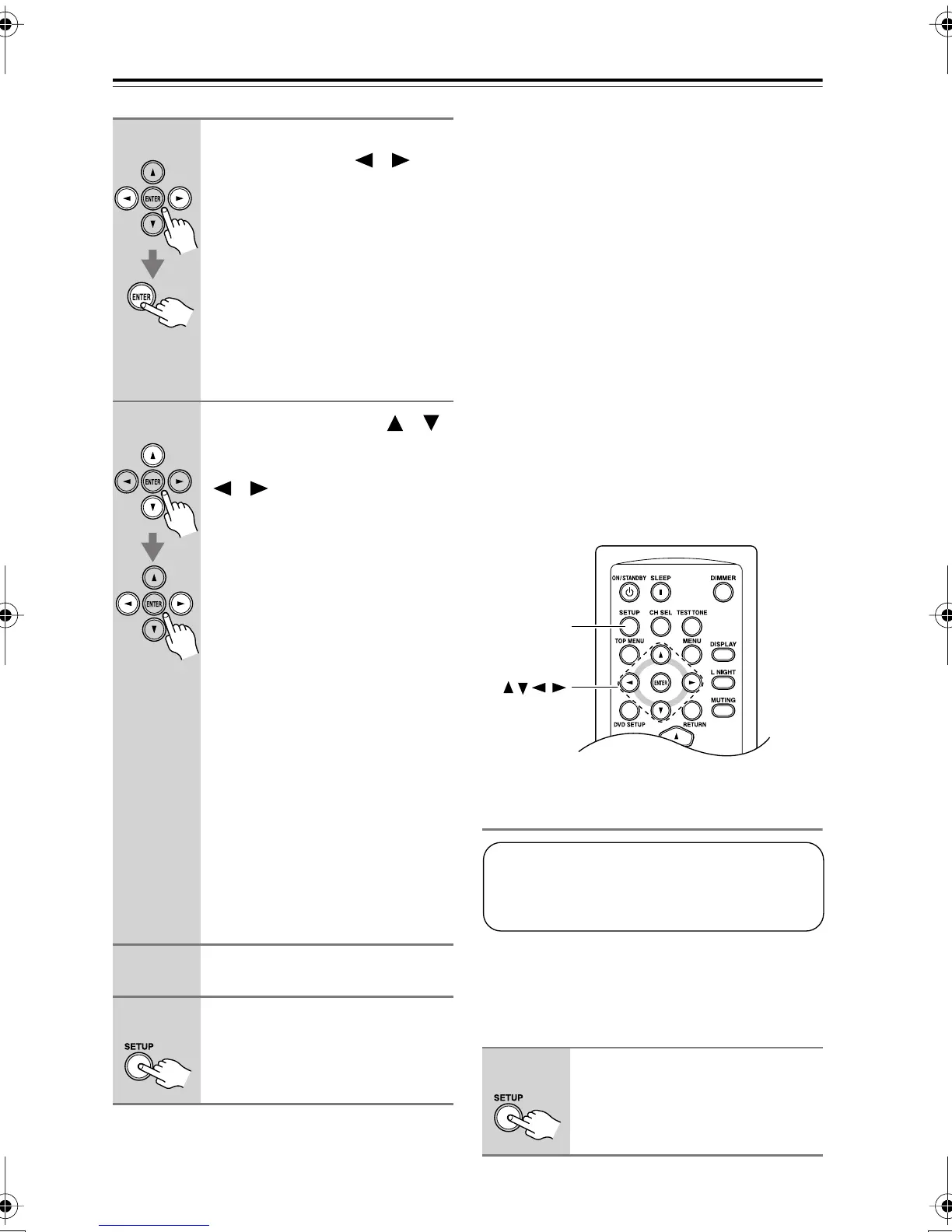
5
While “Unit” is displayed, use
the Left and Right [ ]/[ ] but-
tons to select “feet” or
“meters, and then press
[ENTER].
feet:
Distances can be set in
feet. Range: 1 to 30 feet
in 1-foot steps.
meters:
Distances can be set in
meters. Range: 0.3 to 9
meters in 0.3-meter
steps.
6
Use the Up and Down [ ]/[ ]
buttons to select the speakers,
and use the Left and Right
[ ]/[ ] buttons to specify
their distance from your listen-
ing position.
You can adjust the levels for the
following speakers:
Left:
Front left speaker.
Center:
Center speaker.
Right
: Front right speaker.
Surr R:
Surround right
speaker.
Surr BkR:
Surround back right
speaker.
Surr BkL:
Surround back left
speaker.
Surr L:
Surround left speaker.
Subwfr:
This subwoofer.
Speakers that you set to No or
None in the “Speaker Configura-
tion” on page 56 cannot be
selected.
7
Repeat step 6 for each speaker.
8
Press the [SETUP] button.
Setup closes.
1
Press the [SETUP] button.
ENTER
SETUP
These settings are set automatically by
the Automatic Speaker Setup function
(see page 32).
HTX-22HDEn.book Page 60 Monday, April 7, 2008 2:03 PM

Other manuals for Onkyo HTX-22HD

Related product manuals