EasyManua.ls Logo

Optima PC-306 - Page 4

Optima PC-306
14 pages
Print Icon
To Next Page IconTo Next Page
To Next Page IconTo Next Page
To Previous Page IconTo Previous Page
To Previous Page IconTo Previous Page
Loading...
4
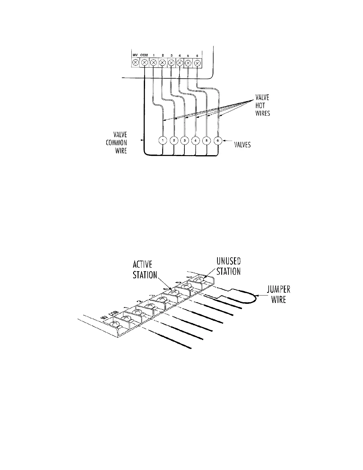
Connect the one common wire (usually the white strand) to the terminal labeled "COM". Connect the
second "hot" wire (usually the color-coded strand) from each valve to one of the terminals numbered
1 -6 on the number of stations on your timer model. Connect wire from valve 1 to terminal 1, valve 2
to terminal 2, etc.
NOTE: Be sure the wire connections are tight and make good contact. Also, it is recommended that you
join all splices with watertight splice connectors to prevent corrosion.
CAUTION: Wire only one valve to each terminal. Wiring more than one could result in damage to the
timer. Also, if using more than one timer, do not share "common" wires between the multiple timers.
TIP: To avoid possible pump damage, "jumper" wire each unused terminal screw to a terminal screw in use,(if you are using
a pump start relay). See figure below.
NOTE: Check local regulations to ensure compliance with any wiring, electrical or installation codes.

Related product manuals