EasyManua.ls Logo

Optoma w313 - Using the Product

Optoma w313
67 pages
Print Icon
To Next Page IconTo Next Page
To Next Page IconTo Next Page
To Previous Page IconTo Previous Page
To Previous Page IconTo Previous Page
Loading...
EN-9
Using the Product
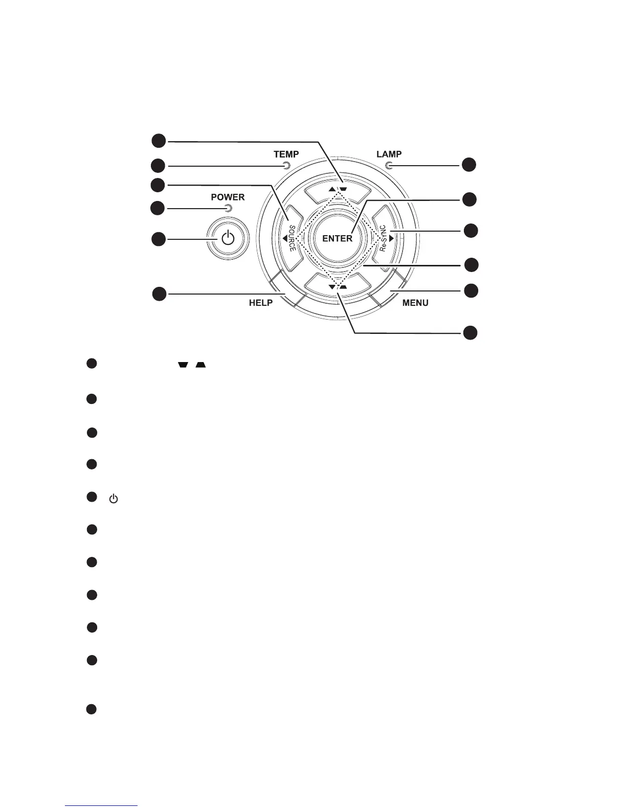
Control Panel
Keystone ( / )
Manually correct distorted images resulting from an angled projection.
TEMP (Temp LED indicator)
Refer to “LED Indicator Messages” on page 62.
SOURCE
Switch between input signals.
POWER (Power LED indicator)
Refer to “LED Indicator Messages” on page 62.
Power
Turn the projector on or off.
HELP
Display Help menu.
LAMP (Lamp LED indicator)
Refer to “LED Indicator Messages” on page 62.
ENTER
Confirm your item selection.
Re-SYNC
Automatically synchronize the projector to the input source.
Four directional buttons
Use four directional buttons to select items or make adjustments to your
selection.
MENU
Display or exit the on-screen display menus.
7
8
9
1
1
2
3
4
10
11
5
6
1
2
3
4
5
6
7
8
9
10
11

Related product manuals