EasyManua.ls Logo

Orbis Thermo X - Cambio en Automático Horario de Invierno;Horario de Verano

Orbis Thermo X
Print Icon
To Next Page IconTo Next Page
To Next Page IconTo Next Page
To Previous Page IconTo Previous Page
To Previous Page IconTo Previous Page
Loading...
- 21 -
Manual de Uso - Thermo X
Español
Pulsar o para confi gurar el valor de la contraseña (parámetro “PAS” –
valores confi gurados avanzados)
Pulsar
para confi rmar
CAMBIO AUTOMÁTICO HORARIO DE INVIERNO – HORARIO DE VERANO
En modo automático, el THERMO.X realizará el cambio del horario de
verano al de invierno, el último domingo del mes de octubre a las 02:00 horas;
y del horario de invierno al de verano el último domingo de marzo a las 03:00
horas.
Esta función puede excluirse o se podrá modifi car la fecha y la hora de cambios.
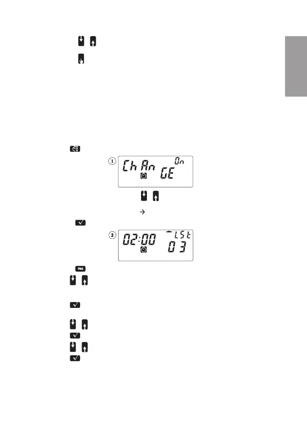
Para modifi car el cambio horario de invierno – horario de verano
Pulsar
durante unos 3 segundos: aparecerá
(Si aparecee “[hange 0FF” pulsar o para llevarlo a “0N”)
Cambio del horario de verano
al horario de invierno
1) Premere
para confi rmar: aparecerá
2) Premere para modifi car los valores confi gurados: “LST” empezará a parpadear
3) Pulsar
o para seleccionar la semana del mes en la que realizar el cambio del
horario de verano al de invierno (“1ST” primera, “2ND” segunda, “3RD” tercera,
“4TH” cuarta, “LST” última)
4) Pulsar
para confi rmar: el segmento correspondiente al domingo empezará a
parpadear
5) Pulsar o para seleccionar el día de la semana
6) Pulsar
para confi rmar: “03” empezará a parpadear
7) Pulsar o para seleccionar el mes
8) Pulsar
para confi rmar: “02:00” empezará a parpadear

Table of Contents

Related product manuals