EasyManua.ls Logo

Orbis Thermo X - Cambio Automatico Ora Solare;Ora Legale

Orbis Thermo X
Print Icon
To Next Page IconTo Next Page
To Next Page IconTo Next Page
To Previous Page IconTo Previous Page
To Previous Page IconTo Previous Page
Loading...
Italiano
- 52 -
Manuale d’Uso - Thermo X
Premere per confermare
CAMBIO AUTOMATICO ORA SOLARE – ORA LEGALE
In automatico il Thermo X esegue il cambio dell’ora da legale a solare,
l’ultima domenica di marzo alle ore 02:00 e da solare a legale l’ultima domenica
di ottobre alle ore 03:00.
Questa funzione può essere esclusa, oppure può essere modifi cata la data e l’ora del
cambio orario.
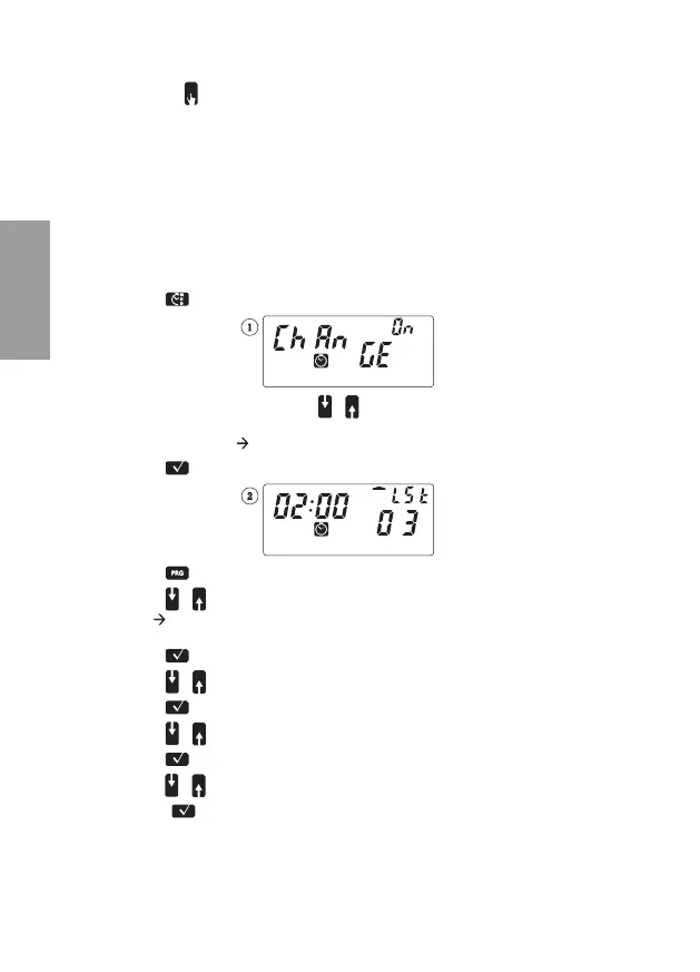
Per modifi care il cambio ora solare – legale
Premere
per circa 3 secondi: appare
(Se appare “[hange 0FF” premere o per portarlo su “0N”)
Cambio ora legale
ora solare
1) Premere
per confermare: appare
2) Premere per modifi care le impostazioni: lampeggia “LST
3) Premere
o per selezionare la settimana del mese in cui effettuare il cambio ora
Legale
Solare (“1ST” prima, “2ND” seconda, “3RD” terza, “4TH” quarta, “LST
ultima)
4) Premere
per confermare: lampeggia il segmento corrispondente alla Domenica
5) Premere
o per selezionare il giorno della settimana
6) Premere
per confermare: lampeggia “03”
7) Premere
o per selezionare il mese
8) Premere
per confermare: lampeggia “02:00”
9) Premere o per selezionare l’ora
10) Premere
per confermare: tutti i segmenti sono fi ssi

Table of Contents

Related product manuals