EasyManua.ls Logo

OSHIMA OB-700 - Grinder

OSHIMA OB-700
29 pages
Print Icon
To Next Page IconTo Next Page
To Next Page IconTo Next Page
To Previous Page IconTo Previous Page
To Previous Page IconTo Previous Page
Loading...
-
7
-
error code and the motor comes to standing.
To reset the protection function, eliminate the cause of failure and press the stop key
(reset key) on the control panel (9).
Be sure the motor is dead standing when pressing the stop (reset) key.
E
GRINDER
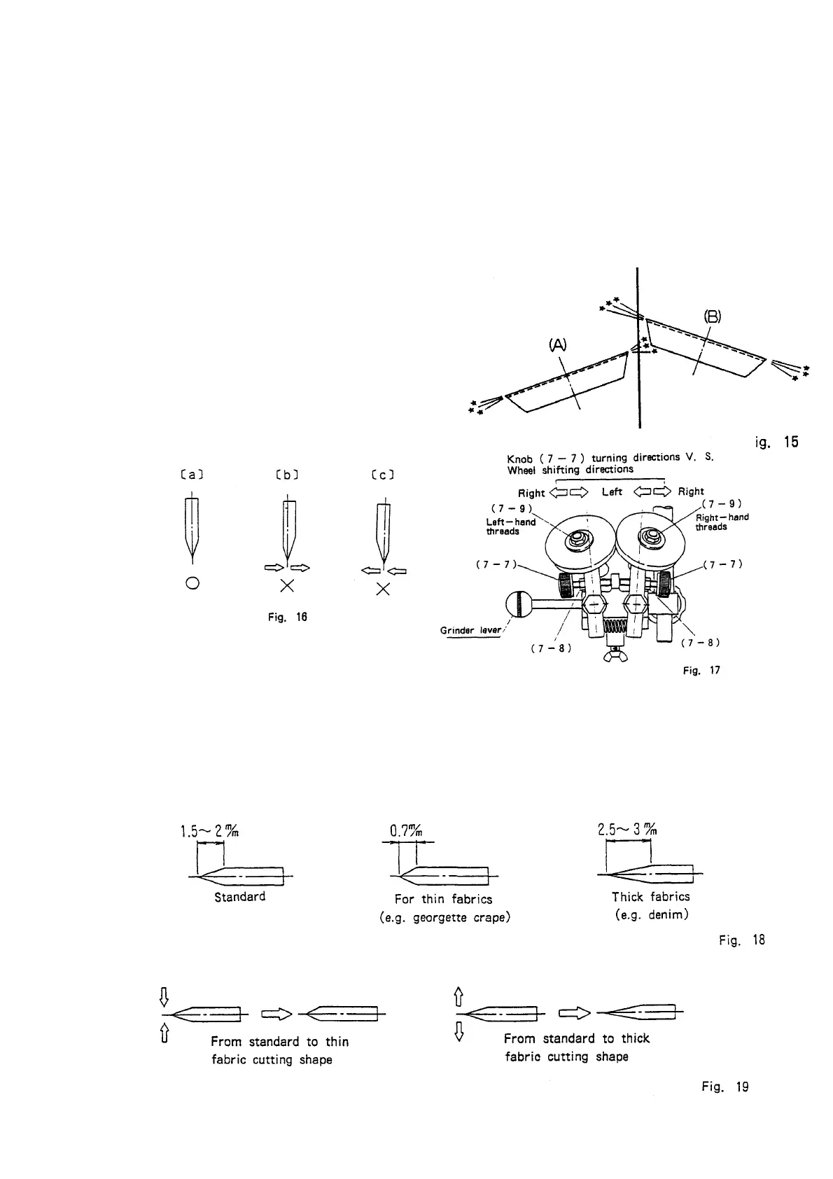
13. Normal grinding condition (see fig.15.16.and 17.)
It is normal to have sparks generated
during the grinding process and later the
knife edge will be ground as (a). If the
knife edge is not even as (b) & (c),
please remove the grinding stone (A) &
(B).
The wheels can be shifted in the
directions shown by arrows by
turning the knobs (7-7) shown in fig. 17 clockwise or counterclockwise.
On completion of adjustment, tighten the lock (7-8) firmly.
14. Shapes of knife edge is up to the fabric types (see fig.18. and 19.)
Grind the knife edge as illustrated in fig.18 depending on the type of fabrics to be cut.
Shift the wheels in the directions shown by arrows to change the shape of the knife edge.
15.