EasyManua.ls Logo

OSHIMA OB-700 - Cutting Operation; Cutting Process; Inverter Troubleshooting

OSHIMA OB-700
29 pages
Print Icon
To Next Page IconTo Next Page
To Next Page IconTo Next Page
To Previous Page IconTo Previous Page
To Previous Page IconTo Previous Page
Loading...
-
6
-
D
CUTTING OPERATION
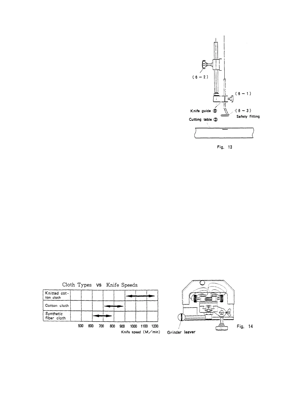
9. Cutting (see fig.13.)
Switch on the power supply. Turn on the blower. An air
layer is formed between cloths to be cut and the table
surface so that the cloths can be moved lightly on the
table.
Holing the cloths with both hands, feed them to the
knife. They are cut outstandingly sharply. Set the knife
guide (6) to a minimum possible height. Two knobs
(6-1 & 6-2) are provided for raising or lowering the
knife.
When not using the cutter. Lower the knife down to the
table surface for safety.
(Caution)
Exercise extreme care with the knife during cloth cutting. It is recommended, to put on
stainless steel mesh gloves (safety glove) for safety.
10. Knife speed
Clothes can be cut well as knife speed increases. However, if cloths of synthetic fibers or
others melted by heat at a high speed, the cut edges melt and adhere.
Lower knife speed and make the felt of the silicon oil tank located above the grinder
touch the knife. Melting and adhesion of the cut edge is eliminated and cloths are cut
sharply.
11. Grinding (see fig.14.)
Grind the knife if the knife becomes dull or cut cloth edges are foul.
Pull the grinder lever when the knife is running, the knife will be ground sharp in 4 to 5
seconds grinding is ended by pushing the lever away. The faster the knife speed is, the
more ground the sharper is.
12. Inverter trouble shooting
The protection device may work to prevent break down of the inverter or motor.
If the devices work, the speed indicator of the control panel shown if fig. 12 shows an