EasyManua.ls Logo

PaceSaver Plus III series - Addendums

Default Icon
48 pages
Print Icon
To Next Page IconTo Next Page
To Next Page IconTo Next Page
To Previous Page IconTo Previous Page
To Previous Page IconTo Previous Page
Loading...
-41-
PLEASE READ THE FOLLOWING INSTRUCTIONS CAREFULLY!
THIS INFORMATION ONLY APPLIES TO ATLAS SCOOTER MODELS
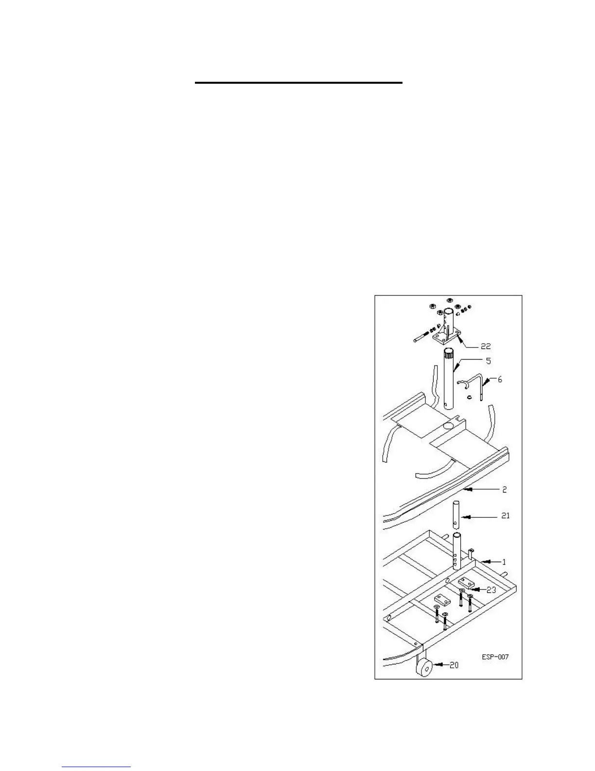
SEAT POST ADJUSTMENT
While the seat post adjustment works much the same as shown in your manual (Refer
to seat assembly operation section in this manual for more information), there are some extra
components used on the ATLAS for increased support. Please look at the drawing to the
right and note the extra bracket that surrounds the seat post (part 22) and the small plastic
insert that goes inside the seat post (part 21). If your unit
is ever disassembled for any reason, please make sure these
components are replaced as shown in the drawing.
ANTI-TIP WHEELS
The ATLAS three wheeler comes equipped with
front Anti-Tip wheels for additional safety (see part # 20 on
FIGURE 15). DO NOT, under any circumstances, remove
these Anti-Tip wheels. They are a required safety feature of
the scooter and it should not be operated without them. If
they cause a problem while maneuvering the scooter under
certain circumstances, that should be your indication that
the scooter should not be used in that manner!
RAMP ANGLES
The ATLAS is rated for maximum 500 lbs rider on
a 8
o
incline (14%) and should not be used on ramps steeper
than that for safety reasons. If you do not know the exact
angle of an incline you intend to traverse, please ask your
dealer or some other individual to nd out the degree of
incline for you before using the scooter on that incline.
Addendum
All "ATLAS" Models
FIGURE 15

Related product manuals