EasyManua.ls Logo

Panasonic CQ-DP383U - Page 31

Panasonic CQ-DP383U
82 pages
To Next Page IconTo Next Page
To Next Page IconTo Next Page
To Previous Page IconTo Previous Page
To Previous Page IconTo Previous Page
Loading...
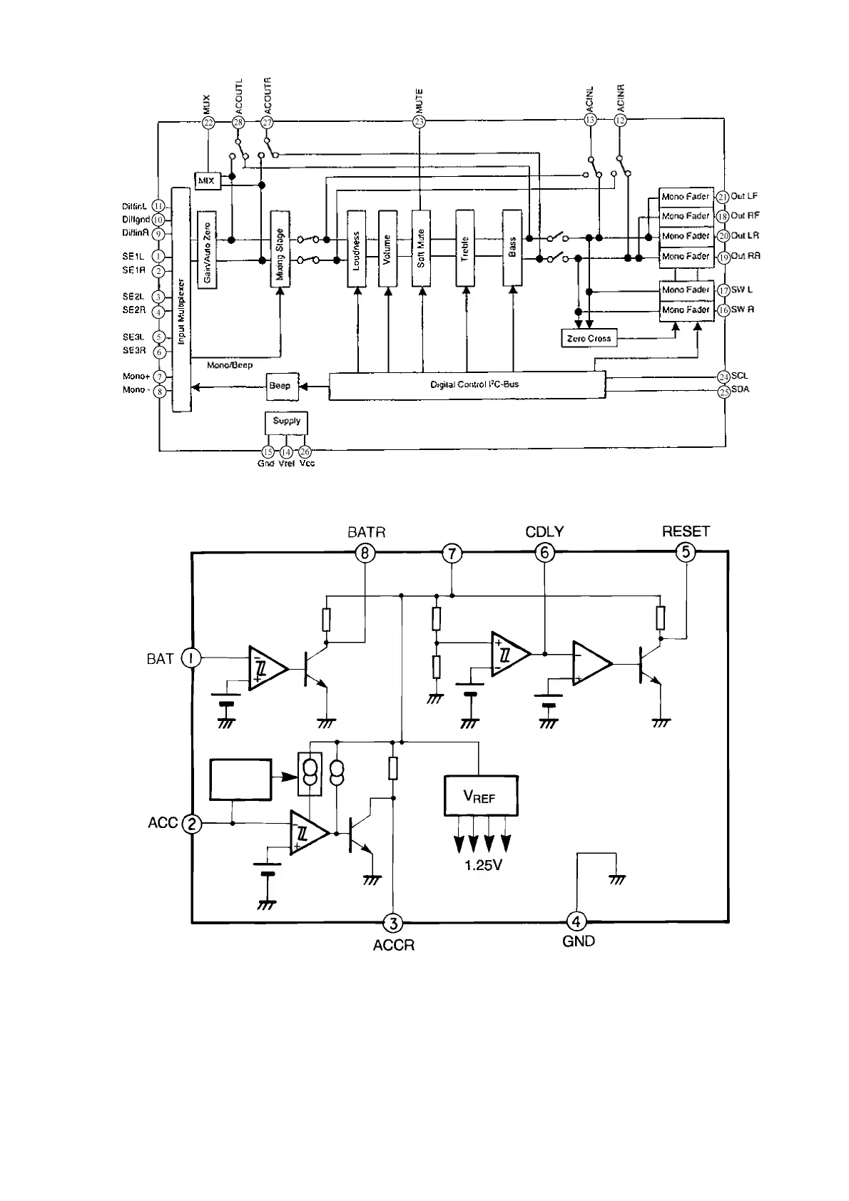
IC300 : C1BB00000543
IC400 : AN8065S_E1
19

Other manuals for Panasonic CQ-DP383U

Related product manuals