EasyManua.ls Logo

Panasonic CS-PC18MKF - Page 46

Panasonic CS-PC18MKF
87 pages
Print Icon
To Next Page IconTo Next Page
To Next Page IconTo Next Page
To Previous Page IconTo Previous Page
To Previous Page IconTo Previous Page
Loading...
46
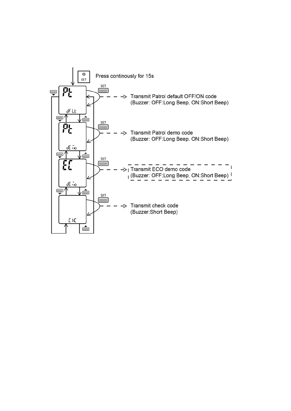
ECONAVI & AUTO COMFORT Demo Mode
- Press “Set” button continuously for 15 seconds by using pointer during Air Conditioner is OFF condition to enter internal
setting mode.
- Press “Timer Decrement" button to select “EC demo”.
- Press “Timer Set” button to toggle ECONAVI & AUTO COMFORT Demo mode.
- Short "beep": Turn ON ECONAVI & AUTO COMFORT Demo mode.
- Long "beep": Turn OFF ECONAVI & AUTO COMFORT Demo mode.
Control details:
During ECONAVI & AUTO COMFORT Demo mode, operation LED ON and horizontal vane will set to Auto Swing.
When Hi activity judge, Fan speed change to Hi Fan and ECONAVI & AUTO COMFORT LED ON.
When Lo activity judge, Fan speed change to Lo Fan and ECONAVI & AUTO COMFORT LED OFF.
No setting temperature adjustment.
During ECONAVI & AUTO COMFORT operation, the internal setting temperature and fan speed are adjusted in order to provide
comfort and energy saving.
ECONAVI Start condition.
- Press ECONAVI button.
ECONAVI Stop Conditon
- Press ECONAVI button again.
- OFF Timer activates.
- Press OFF/ON button to turn off the air conditioner.
- Press AUTO OFF/ON button to turn off the air conditioner.
AUTO COMFORT Start condition.
- Press AUTO COMFORT button.

Table of Contents

Other manuals for Panasonic CS-PC18MKF

Related product manuals