EasyManua.ls Logo

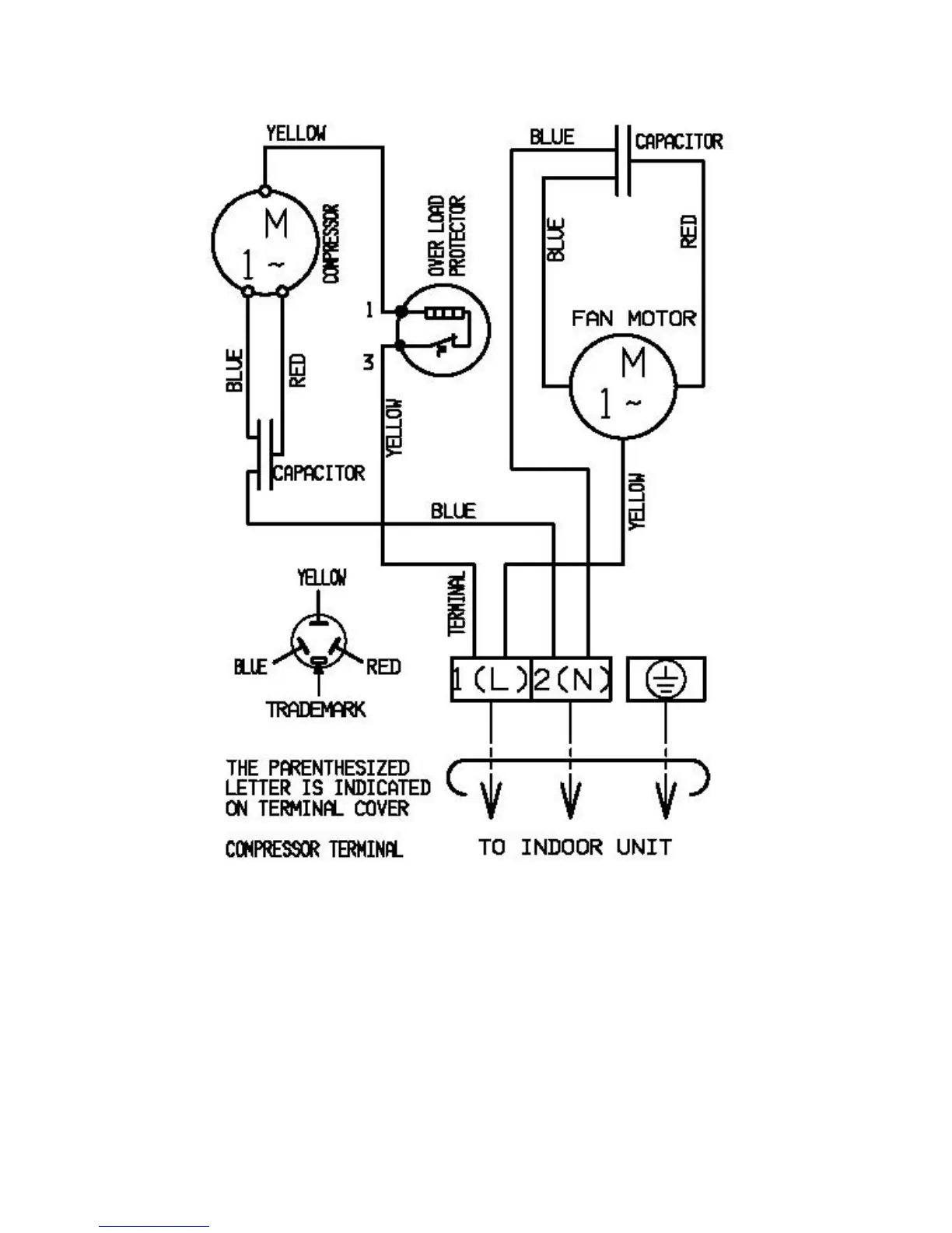
Panasonic CS-YC9MKV - Outdoor Unit Wiring Diagram

Panasonic CS-YC9MKV
41 pages
Print Icon
To Next Page IconTo Next Page
To Next Page IconTo Next Page
To Previous Page IconTo Previous Page
To Previous Page IconTo Previous Page
Loading...
17
7.2 Outdoor Unit