EasyManua.ls Logo

Panasonic CU-B24DBE5 - Installation of Decorative Panel

Panasonic CU-B24DBE5
156 pages
Print Icon
To Next Page IconTo Next Page
To Next Page IconTo Next Page
To Previous Page IconTo Previous Page
To Previous Page IconTo Previous Page
Loading...
59
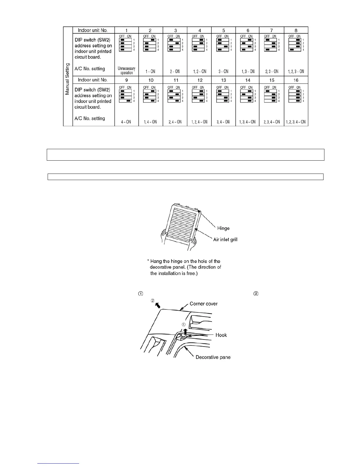
10.4.9. Installation of decorative panel
1. Remove the air inlet grill from the decorative panel.
2. Remove the corner cover in 4 corner places.
Pull hook of corner cover as direction , at same time remove it by sliding out in direction .
3. Fix the hanger (2 pieces) of the decorative panel to the indoor unit.
There is direction information at decorative panel [PIPING SIDE] indication meaning the direction of piping side.
The decorative panel has its installation direction.
Confirm the direction by displaying of the piping side.
Before installing the decorative panel, always remove the paper template.

Table of Contents

Other manuals for Panasonic CU-B24DBE5

Related product manuals