EasyManua.ls Logo

Panasonic CU-E15DBE - Page 22

Panasonic CU-E15DBE
90 pages
Print Icon
To Next Page IconTo Next Page
To Next Page IconTo Next Page
To Previous Page IconTo Previous Page
To Previous Page IconTo Previous Page
Loading...
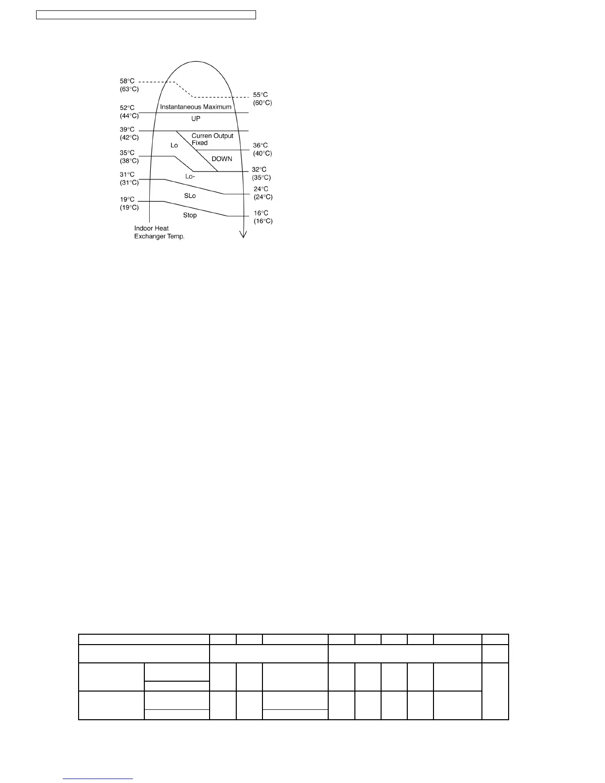
2. Heating
Note:
a. UP:
If move from Lo, the fan speed will be shifted to Maximum 1520 rpm.
If move from Maximum, the fan speed no change.
In up zone, 10 rpm is added for every 10s until Maximum 1520 rpm.
b. DOWN:
The fan speed will be decreased one step every 10 sec. until Minimum 1270 rpm.
c. Current Output Fixed:
Maintain at present fan speed.
d. Instantaneous Maximum:
Fan speed will be increased to maximum auto fan speed.
e. Temperature in ( ) is for Powerful Mode operation.
C. Fan Motor Control
1. Motor specification
Phase control motor
D. Deodorizing Control
i. Control condition
Control at cooling/dry operation and auto fan speed.
No Deodorizing Control is performed during ON timer standby operation and during Anti-freezing control prevention.
ii. Operation
The odor status is arranged as below and it is shifted as follow.
* When COMP is ON 1
2
3
(Shift to 4 when COMP is OFF)
* When COMP is OFF 4
5
6
7
6
←→
7
(Shift to 1 when COMP is ON)
* Start from 4 if the Thermostat is OFF during the start operation.
Odor Status 1 2 3 4 5 6 7 6.7.6... 1
Status Shift
according to COMP
ON OFF ON
Status Shift
according
Cooling
zone
40 50 30 90 20 90 20.90.20...
to time (s) Dry zone ON
Fan Speed
Cooling
zone
OFF SSLo
Auto Fan Speed
SSLo OFF SSLo OFF SSLo.OFF...
Dry zone SLo
22
CS-E15DTEW CU-E15DBE / CS-E18DTEW CU-E18DBE / CS-E21DTES CU-E21DBE

Table of Contents

Other manuals for Panasonic CU-E15DBE

Related product manuals