EasyManua.ls Logo

Panasonic CU-W7DKE - Minutes Time Save Control

Panasonic CU-W7DKE
92 pages
Print Icon
To Next Page IconTo Next Page
To Next Page IconTo Next Page
To Previous Page IconTo Previous Page
To Previous Page IconTo Previous Page
Loading...
(For 8.5.8 to 8.5.16 information applies only to Heating Operation)
8.5.8. Restart Control (Time Delay Safety Control)
When the thermo-off temperature (temperature which compressor stops to operate) is reached during:-
Heating operation - the compressor stops for 3 minutes (minimum) before resume operation.
If the operation is stopped by the remote control, the compressor will not turn on within 3 minutes from the moment operation
stop, although the unit is turn on again within the period.
This phenomenon is to balance the pressure inside the refrigerant cycle.
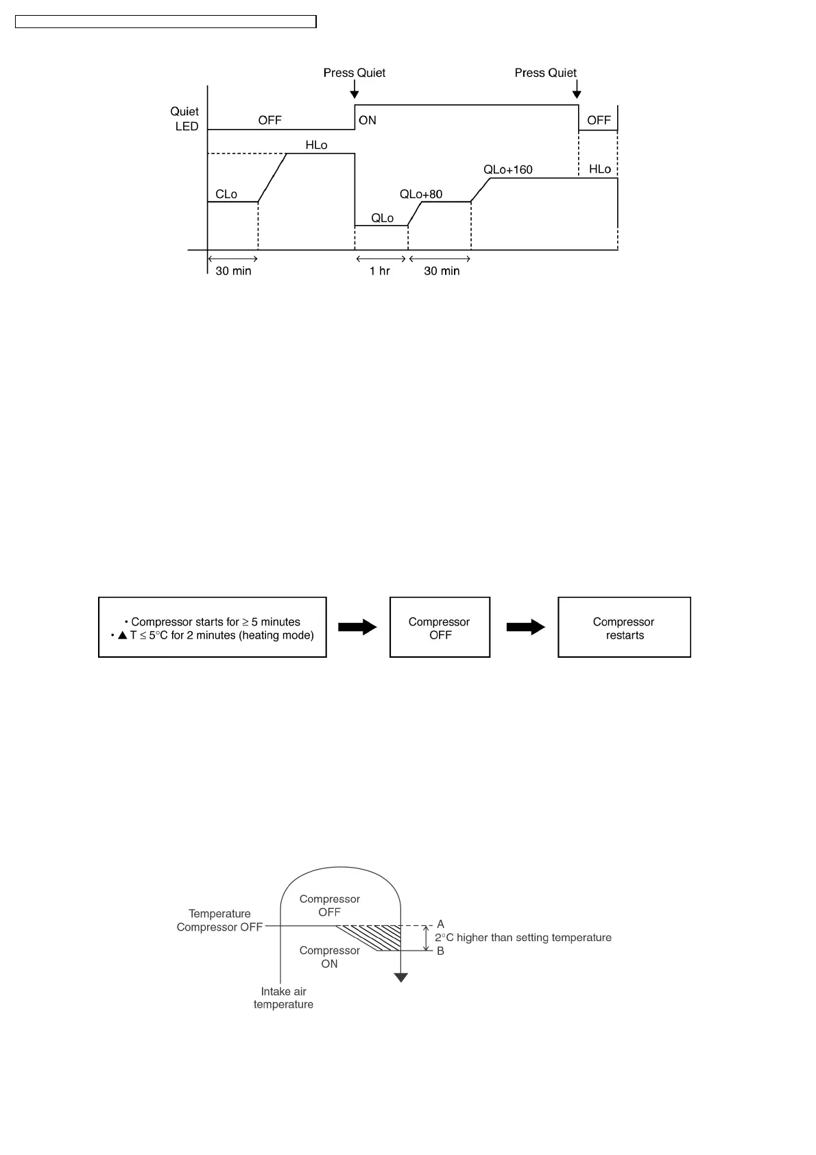
8.5.9. Compressor Reverse Rotation Protection Control
If the compressor is operating continuously for 5 minutes or longer and the temperature difference between indoor heat
exchanger and intake air is 5°C (heating mode) or less for continuous 2 minutes, compressor will stop and restart automatically.
Time Delay Safety Control is activated before the compressor restart.
T = Indoor heat exchanger temperature - Intake air temperature
This is to prevent compressor from rotate reversely when there is an instantaneous power failure.
8.5.10. 30 Minutes Time Save Control
The compressor will start automatically if it has stopped for 30 minutes and the intake air temperature falls between the
compressor OFF temperature (A) and compressor ON temperature (B) during the period.
This is to maintain the room temperature as set. Despite of this, it is to prevent a wrong judgement of intake air temperature due
to poor installation near the sensor area.
26
CS-W7DKE CU-W7DKE / CS-W9DKE CU-W9DKE / CS-W12DKE CU-W12DKE

Table of Contents

Related product manuals