EasyManua.ls Logo

Panasonic CZ-CSRC3 - Basic Operations

Panasonic CZ-CSRC3
68 pages
To Next Page IconTo Next Page
To Next Page IconTo Next Page
To Previous Page IconTo Previous Page
To Previous Page IconTo Previous Page
Loading...
Optional Controller
Manual of Controller
2 - 5
1. Timer Remote Controller (CZ-RTC4)
7
(EN)
Basic Operations
How to Operate
Turn on the indoor unit before operation. See operating instructions of the indoor unit.
Start/Stop operation / Operation mode
1. Press [Start/Stop] to start operation.
A
1
2
2. Press the mode select button to select
the mode among AUTO
, HEAT ,
DRY
, COOL and FAN .
* Auto: The mode is automatically switched to
Cool or Heat to achieve the set temperature.
Set temperature
Press [ / ] to set the desired
temperature.
Cannot be set in Fan mode.
A
Temperature
Fan speed
Press the fan speed button to set the fan
speed.
: Automatically switches the fan speed.
: Low
: Medium
: High
A
Fan speed
Flap
Press the ap button to adjust the ap
position.
A
Flap
6
(EN)
°
°
2726
19 18 17 16 15 14 13 12 11 10
28 1 2 3
4
25
23
24
20
22
21
5
6
7
8
9
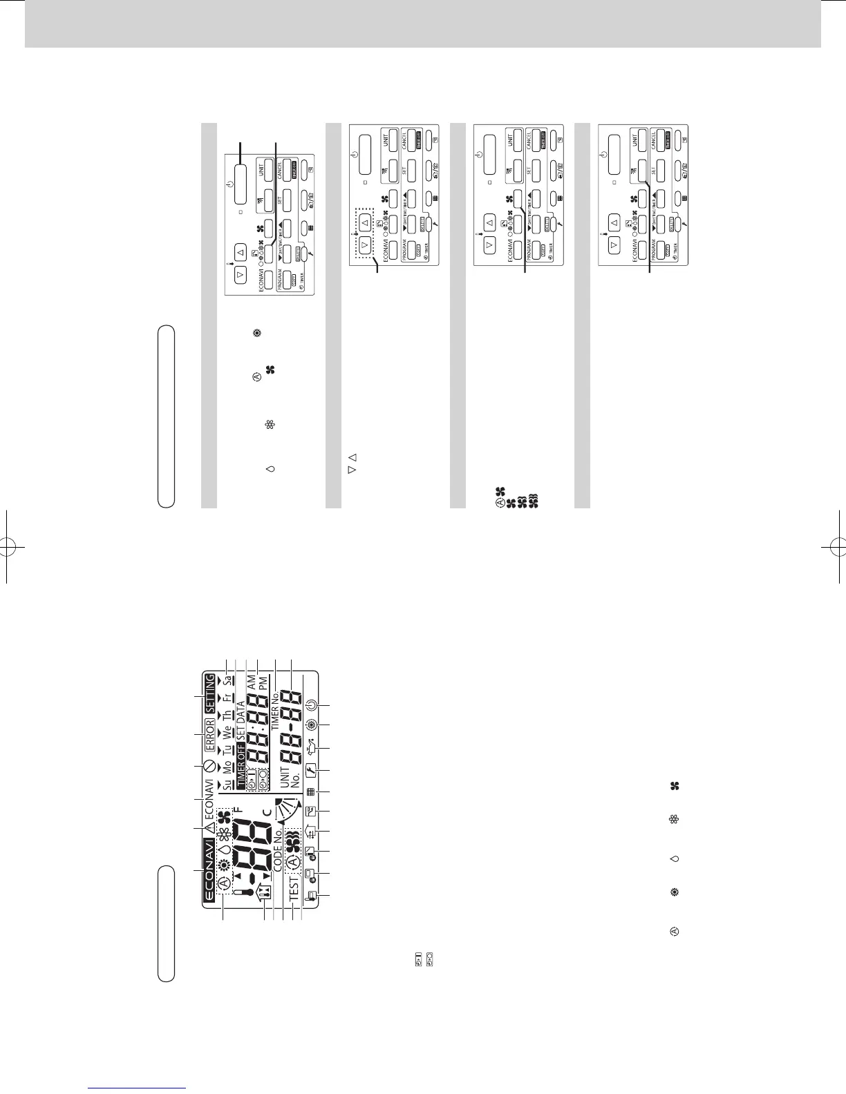
1 Displayed if the selected feature was disabled during installation.
2 Displayed when a mistake is made during timer setting.
3 Appears when the timer program is being set.
4 Indicates today’s day of the week.
5 Displayed when the timer has been turned OFF.
6 Timer program indication
: The indoor unit starts operation at the programmed time.
: The indoor unit stops operation at the programmed time.
7 Displays the present time on a 24-hour clock. Also, displays settings in the various setting
modes.
8 Appears when the time program is being set.
9 Indicates the unit No. of the selected indoor unit.
10 Appears during the peak cut mode (Demand) if an electric heat pump (EHP) air conditioner is
used or during standby if a gas heat pump (GHP) air conditioner is used.
11 Appears when the fan of the indoor unit is stopped or in low fan speed.
12 The engine oil needs to be replaced. (Only when using a gas heat pump air conditioner.)
13 Appears when the maintenance function (monitoring sensor temperatures) is activated.
14 The indoor unit lter needs to be cleaned.
15 Appears during the sleeping function.
16 Appears when a fan available in the market is installed and is operating.
17 Switching operation modes is prohibited. (Switching to Auto mode is also prohibited.)
18 Remote control operation is restricted by a central control device.
19 Appears when the remote control sensor is used.
20 The selected fan mode is displayed.
21 Appears while in test operation.
22 Indicates the ap position.
23 Indicates the set temperature.
24 Appears during the outing function.
25 Displays the selected operation mode.
(AUTO
/HEAT /DRY /COOL /FAN )
26 Appears when ECONAVI is being set to ON.
27 When inspection is required.
28 Appears with displaying 27 if there is a problem on ECONAVI.
Screen display
Part Names
SM830241-00_2WAY SYS.indb 5 2015/03/26 14:54:52

Table of Contents

Other manuals for Panasonic CZ-CSRC3

Related product manuals