EasyManua.ls Logo

Panasonic ER217-E2 - Schematic Diagram; Wiring Connection Diagram

Panasonic ER217-E2
9 pages
Print Icon
To Next Page IconTo Next Page
To Next Page IconTo Next Page
To Previous Page IconTo Previous Page
To Previous Page IconTo Previous Page
Loading...
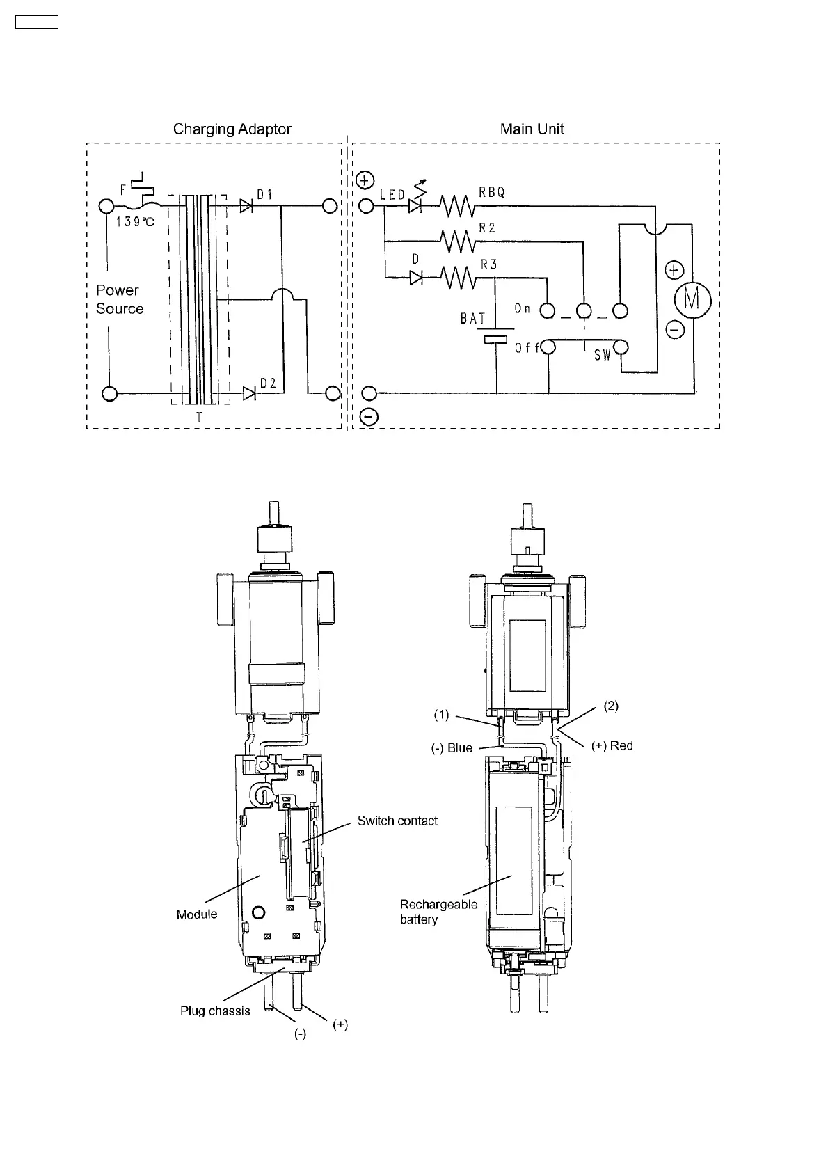
1 SCHEMATIC DIAGRAM
2 WIRING CONNECTION DIAGRAM
2
ER217-E2

Related product manuals