EasyManua.ls Logo

Panasonic KX-MB2515EU - LAN Section

Panasonic KX-MB2515EU
538 pages
Print Icon
To Next Page IconTo Next Page
To Next Page IconTo Next Page
To Previous Page IconTo Previous Page
To Previous Page IconTo Previous Page
Loading...
261
KX-MB2230EU/ KX-MB2270EU/ KX-MB2515EU/ KX-MB2545EU/ KX-MB2575EU/ DP-MB310EU
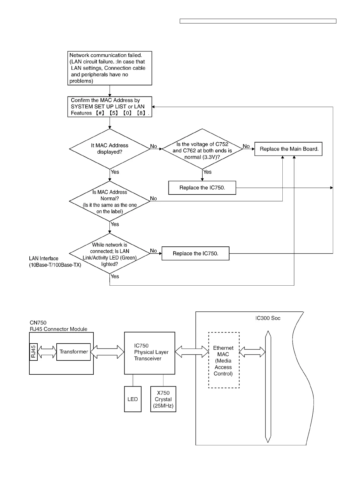
12.3.21. LAN Section
LAN Block Diagram

Table of Contents