EasyManua.ls Logo

Panasonic LUMIX DMC-FX37

Panasonic LUMIX DMC-FX37
120 pages
To Next Page IconTo Next Page
To Next Page IconTo Next Page
To Previous Page IconTo Previous Page
To Previous Page IconTo Previous Page
Loading...
99
VQT1R99
Others
34 Number of days that have passed since the travel date (P55)
35 Self-timer mode (P41)
¢
1 This is displayed for about 5 seconds when this unit is turned on in [BABY1]/[BABY2] or
[PET] in scene mode.
¢2 This is displayed for about 5 seconds when the camera is turned on, after setting the clock
and after switching from playback mode to recording mode.
In playback
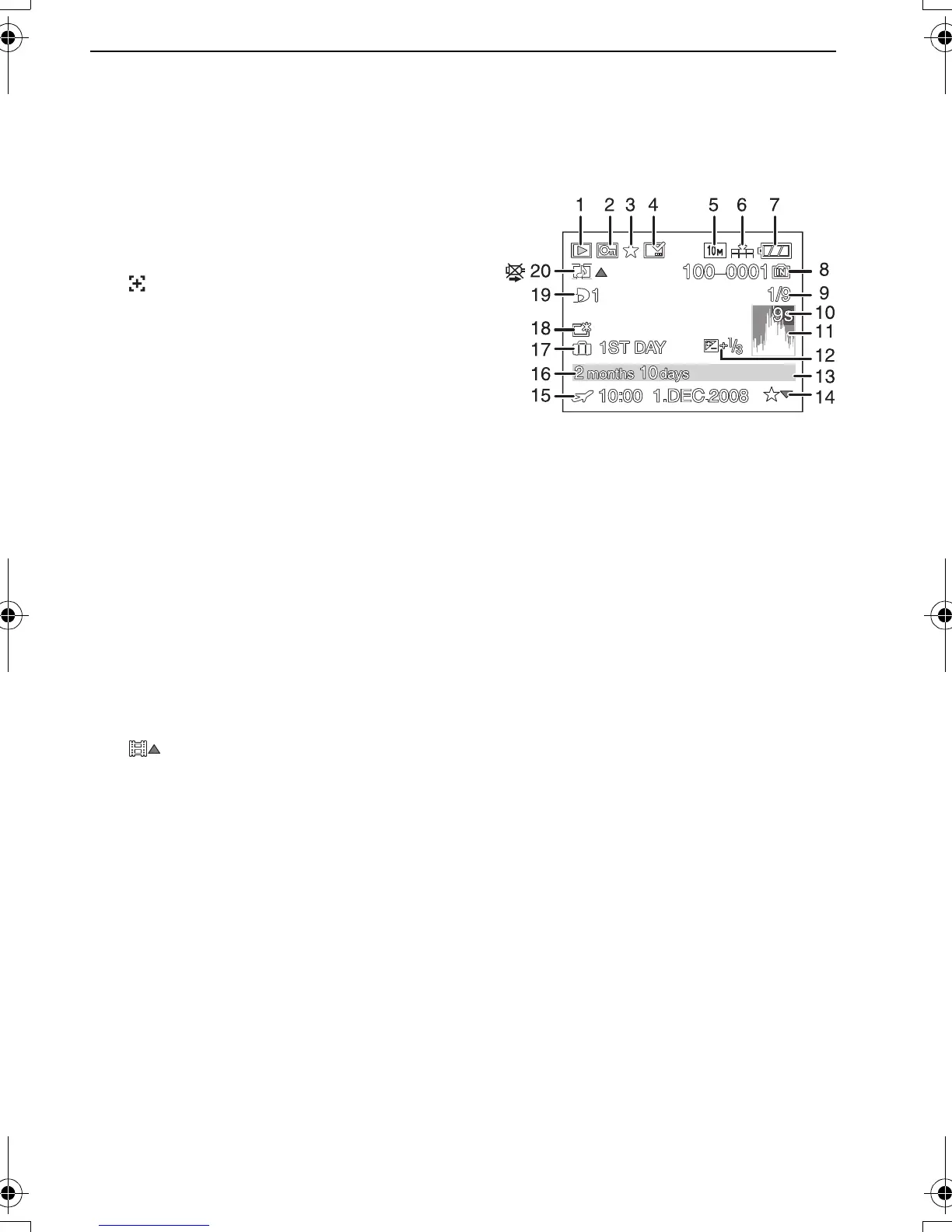
1 Playback mode (P31)
2 Protected picture (P86)
3 Favourites (P84)
: Zoom mark (P69)
4 Stamped with text indication (P78)
5 Picture size (P58)
Motion picture icon (P74)
6 Quality (P59)
7 Battery indication (P13)
8 Folder/File number (P91)
Built-in memory (P15)
Elapsed playback time (P74):
9 Picture number/Total pictures
10 Motion picture recording time (P74):
11 Histogram (P36)
12 Exposure compensation (P42)
13 Recording information (P35)
14 Favourites settings (P84)
15 Recorded date and time/Travel destination setting (P56)/Name (P47)/Location (P55)/
Title (P77)
16 Age (P47)
17 Number of days that have passed since the travel date (P55)
18 Power LCD (P21)
19 Number of DPOF prints (P85)
20 Audio playback (P74)
: Motion picture playback (P74)
Cable disconnection warning icon (P92)
8
m
30
s
8
m
30
s
DMC-FX37EB-VQT1R99_eng.book 99 ページ 2008年7月4日 金曜日 午後7時56

Table of Contents

Related product manuals