EasyManua.ls Logo

Panasonic NA-F75G6

Panasonic NA-F75G6
32 pages
To Next Page IconTo Next Page
To Next Page IconTo Next Page
To Previous Page IconTo Previous Page
To Previous Page IconTo Previous Page
Loading...
NA-F62G6 / F65G6 / F70G6 / F75G6 / F75S6 / F70S6
28
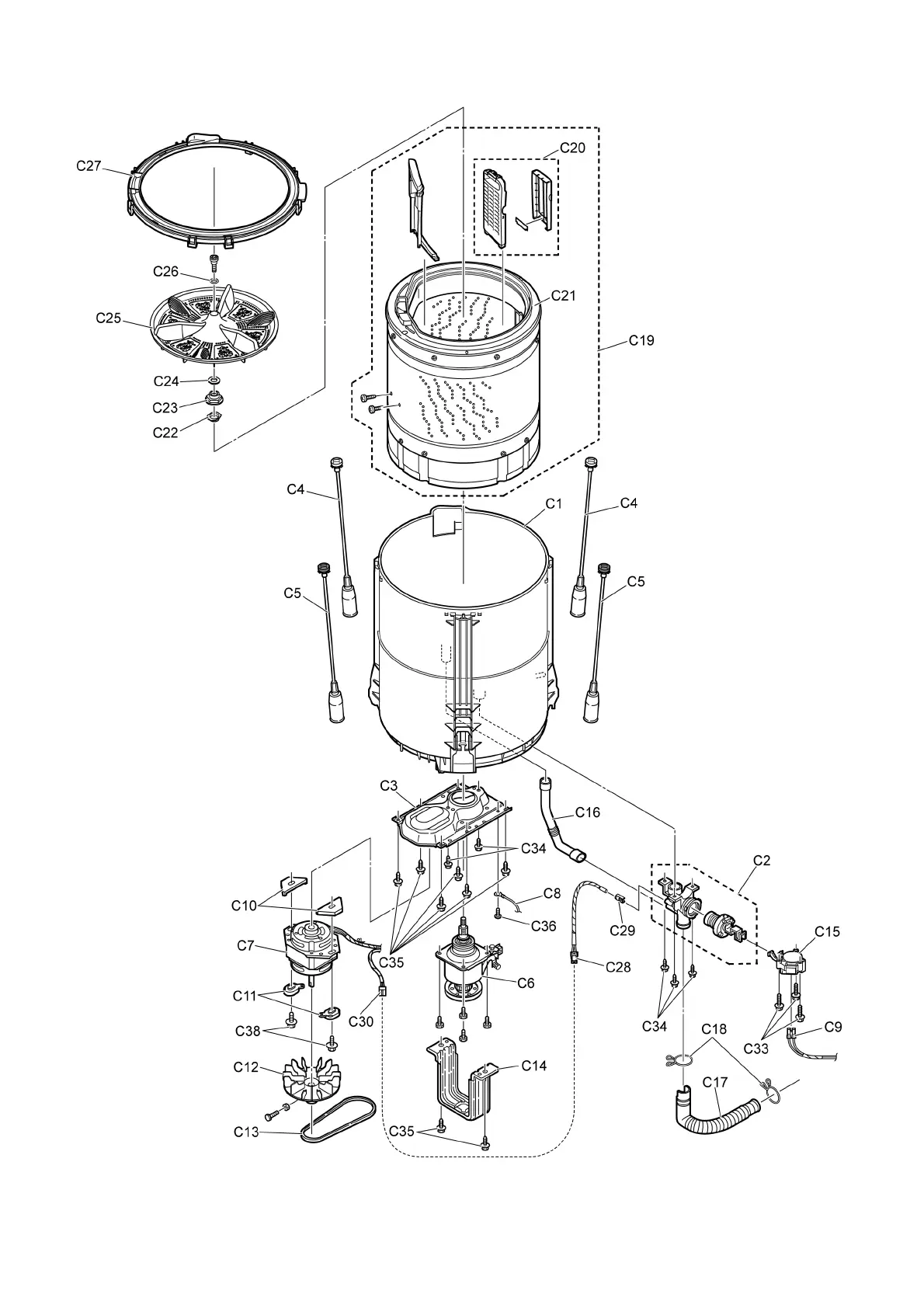
10.5. Parts Exploded View : Part C

Related product manuals