EasyManua.ls Logo

Panasonic NN-CD997S - Page 31

Panasonic NN-CD997S
42 pages
Print Icon
To Next Page IconTo Next Page
To Next Page IconTo Next Page
To Previous Page IconTo Previous Page
To Previous Page IconTo Previous Page
Loading...
31
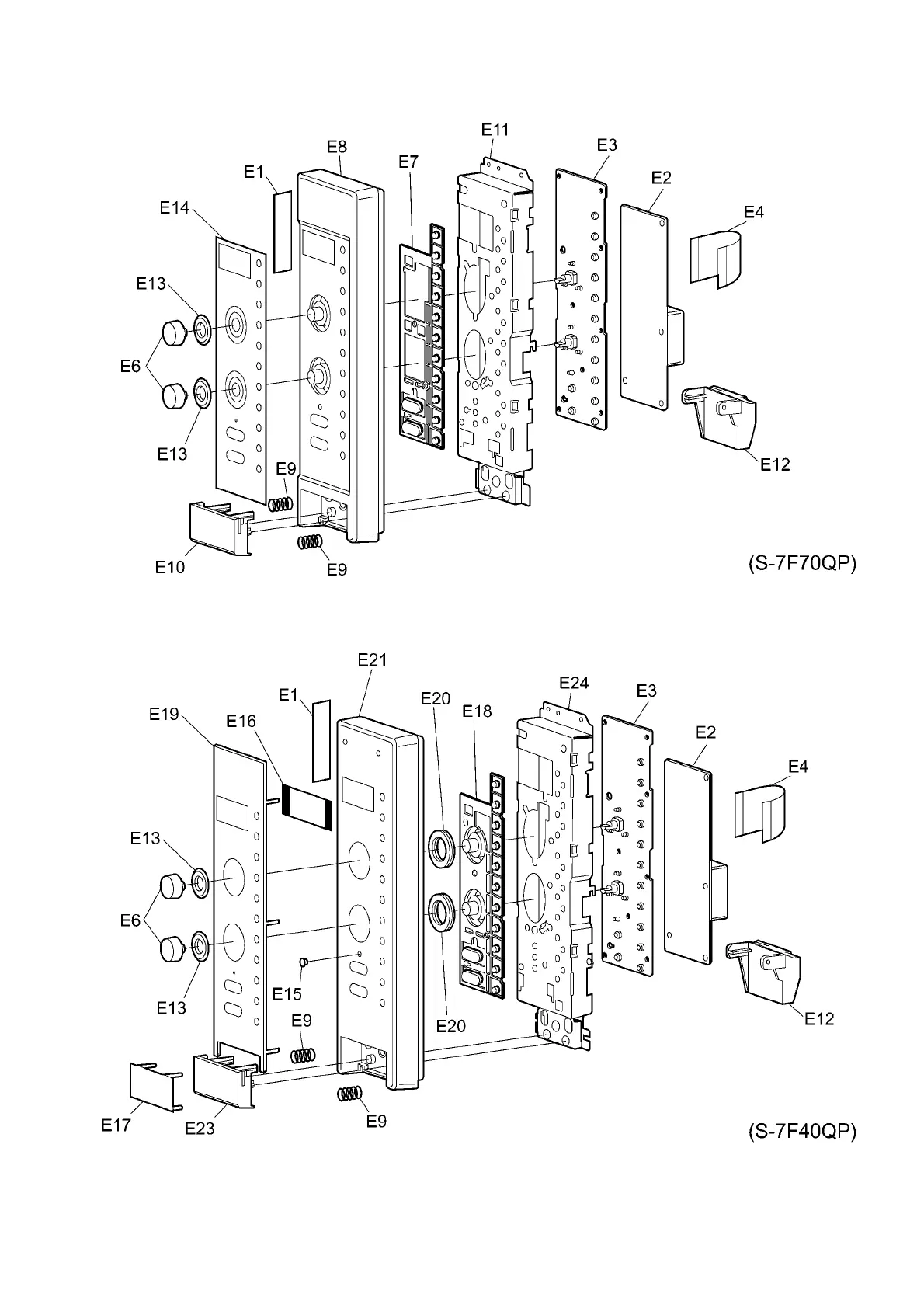
9.4. ESCUTCHEON BASE ASSEMBLY

Other manuals for Panasonic NN-CD997S

Related product manuals