EasyManua.ls Logo

Panasonic NN-S259W - Beskrivelse Af Ovnen

Panasonic NN-S259W
374 pages
To Next Page IconTo Next Page
To Next Page IconTo Next Page
To Previous Page IconTo Previous Page
To Previous Page IconTo Previous Page
Loading...
Dk-5
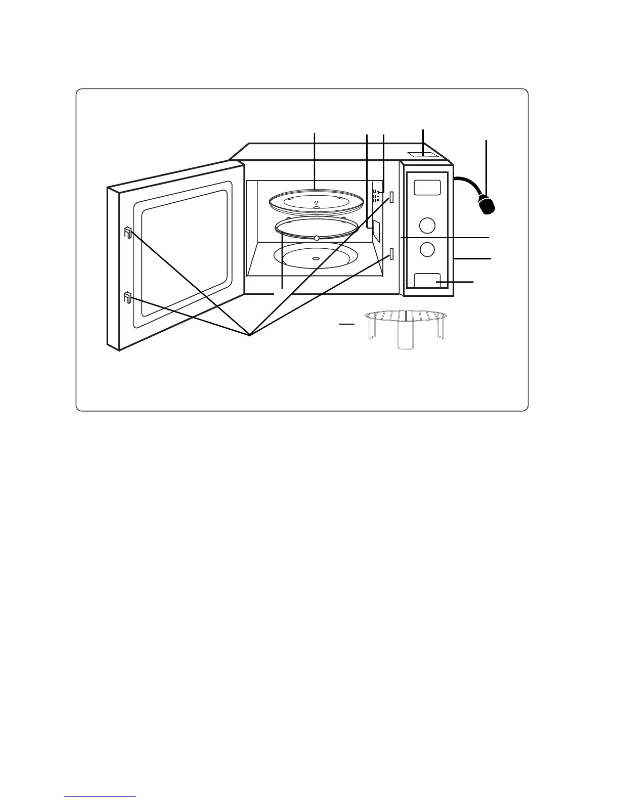
Beskrivelse af ovnen
1. Døråbneknap
Åbning af ovndøren under kogningen vil standse tilberedningsprocessen uden at annullere
programmeringen. Kogningen genoptages, så snart døren er lukket, og De har trykket på
START knap. Lyset i ovnen vil forblive tændt eller tændes, når ovndøren åbnes.
2. Ovnvindue
3. Sikkerhedslåsesystem for døren
4. Ventilationsåbning
5. Betjeningspanel
6. Glastallerken
7. Drejering
8. Udvendig ventilationsåbning
9. Metalrist (NN-J169M / NN-J159W)
10. Strømledning
11. Advarselsmærkat (Varme overflader)(NN-J169M / NN-J159W)
12. Typemærkat
13. Mikroovnens fødevare oversigt (Må ikke fjernes)
[1]
[2]
[3]
[5]
[7]
[9]
[6]
[8]
[10]
[11]
[12]
[4]
[13]

Table of Contents

Related product manuals